乐视体育再被限制高消费快报
TechWeb.com.cn
2021-08-27 18:02
导读
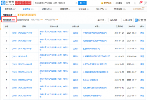
企查查信息显示,乐视体育文化产业发展(北京)有限公司已被限制高消费共238次,关联对象为雷振剑。
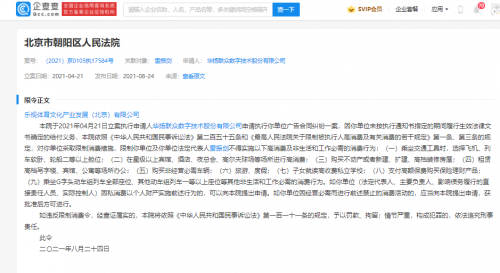
【TechWeb】企查查App显示,8月24日,乐视体育文化产业发展(北京)有限公司被限制高消费,申请人为华扬联众数字技术股份有限公司,案号为(2021)京0105执17584号 ,案由为广告合同纠纷,关联对象为雷振剑。
企查查信息显示,乐视体育文化产业发展(北京)有限公司已被限制高消费共238次。


查查
显示
体育
产业
文化
1.TMT观察网遵循行业规范,任何转载的稿件都会明确标注作者和来源;
2.TMT观察网的原创文章,请转载时务必注明文章作者和"来源:TMT观察网",不尊重原创的行为TMT观察网或将追究责任;
3.作者投稿可能会经TMT观察网编辑修改或补充。
