明星AI公司CEO涉嫌履历造假惨被官方打脸:被指冒牌“神童”AI“神棍”快报
中国科大新创校友基金会是中国科学技术大学的专业校友基金会,中国科大新创校友基金会(以下简称,刘端阳冒充少年班校友多年。
【TechWeb】近日,中国科大新创校友基金会(以下简称“基金会”)在官网发布一篇打假公告,《冒牌神童刘端阳,AI“神棍”的传奇骗术》,这让人工智能企业莫比嗨客创始人刘端阳陷入巨大的质疑声。

根据基金会公告显示,经调查发现:莫比嗨客CEO刘端阳自称“12岁考入中国科学技术大学少年班”(“中国科学技术大学少年班”以下简称“少年班”)。经多方查实:刘端阳冒充少年班校友多年,并涉嫌假冒清华大学硕士、斯坦福大学博士(或博士生),通过莫比嗨客公司欺诈深圳、苏州、青岛、山西吕梁等多个城市与高新科技园区。
该调查源于9月4日,中科大校友的相关投诉“刘端阳频繁在苏州工业园以科大少年班校友出现,疑似造假”,基金会查询了中国科大文革之后所有入学的本科生学籍名单、中国科学技术大学校友(总)会公开之学籍记录,所有校友名录(不仅限于少年班学员、不仅限于本科生),同时联络中国科大档案馆、少年班学院等所有相关机构,皆未发现刘端阳。
此外,针对刘端阳“清华大学硕士、斯坦福大学博士(或博士候选人)”相关网络公开报道的履历经历,基金会也通过电子邮件或公开信息,确认相关学校并无刘端阳的学习经历。
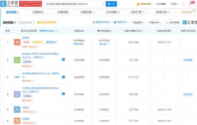
企查查APP显示,莫比嗨客关联公司为深圳莫比嗨客树莓派智能机器人有限公司,该公司成立于2016年,法定代表人、大股东为刘端阳,企查查股权穿透显示,该公司共有6位股东,其中包含两家投资机构,分别是深圳南山中航无人系统股权投资基金合伙企业(有限合伙)以及宁波梅山保税港区梅花扬世投资合伙企业(有限合伙),后者执行事务合伙人为宁波梅花天使投资管理有限公司,股权占比分别是16.67%和8.33%。
目前刘端阳关联公司共11家,其中在8家企业里担任法定代表人,今年7月,深圳嗨客教育科技集团有限公司成立,刘端阳任该公司董事长职务。
公开信息显示,中国科大新创校友基金会是中国科学技术大学的专业校友基金会,是中科大校友民间发起、民主运作的基金会。基金会于2015年7月24日在北京市民政局以“北京中国科学技术大学新创公益基金会”注册为“非公募基金会”,原始基金数额为200万元,时任法定代表人为张树新,现任法定代表人为石兵。基金会与中科大校方的关系是“合作但独立”。新创基金会不隶属于中国科技大学,但将与校方密切沟通与合作。
对于刘端阳的造假行为,基金会已经向长江商学院出具学历造假证据,并称该校已经在12小时内要求刘端阳退学。此外,基金会已经通过电子邮件与电话向苏州科技局、苏州工业园区等通报刘端阳的造假历史。对于相关投资机构,基金会也已发送电子邮件并通过多种方式告知梅花创投。


1.TMT观察网遵循行业规范,任何转载的稿件都会明确标注作者和来源;
2.TMT观察网的原创文章,请转载时务必注明文章作者和"来源:TMT观察网",不尊重原创的行为TMT观察网或将追究责任;
3.作者投稿可能会经TMT观察网编辑修改或补充。
