王子杰未持有丝芭股份 王子杰妹妹为丝芭最终受益人观点
观察君
2026-04-16 16:46
导读
据报道,4月16日,上海丝芭文化传媒集团有限公司发布官方讣告。
据报道,4月16日,上海丝芭文化传媒集团有限公司发布官方讣告。
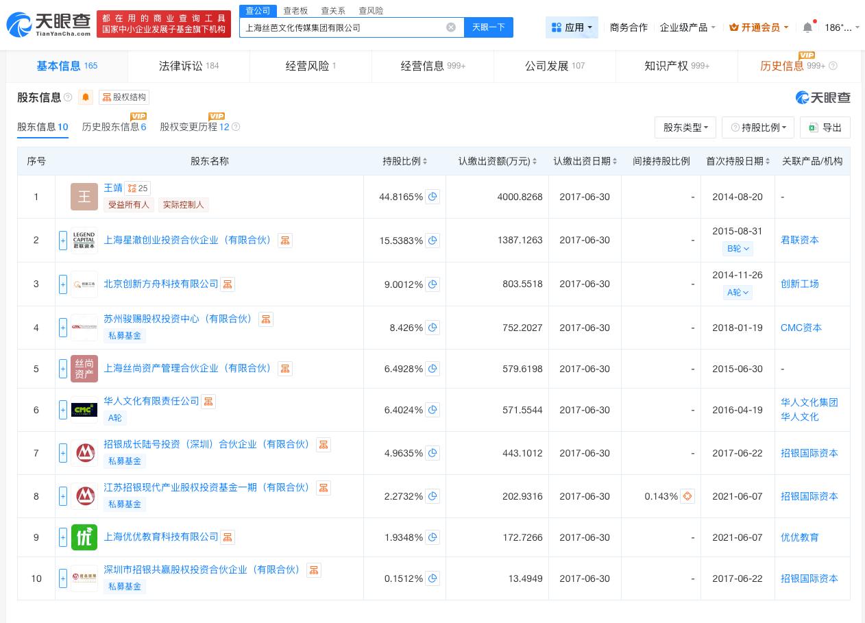
天眼查App显示,上海丝芭文化传媒集团有限公司成立于2010年5月,法定代表人为王靖,注册资本约8927万人民币,经营范围包括营业性演出、演出经纪、广播电视节目制作经营等,由王靖、上海丝尚资产管理合伙企业(有限合伙)等共同持股。此外,该公司实际控制人、最终受益人均为王靖。
公开信息显示,王靖为王子杰妹妹。


王子杰
1.TMT观察网遵循行业规范,任何转载的稿件都会明确标注作者和来源;
2.TMT观察网的原创文章,请转载时务必注明文章作者和"来源:TMT观察网",不尊重原创的行为TMT观察网或将追究责任;
3.作者投稿可能会经TMT观察网编辑修改或补充。
