恒大地产等被强制执行16.1亿观点
观察君
2024-08-23 11:18
导读
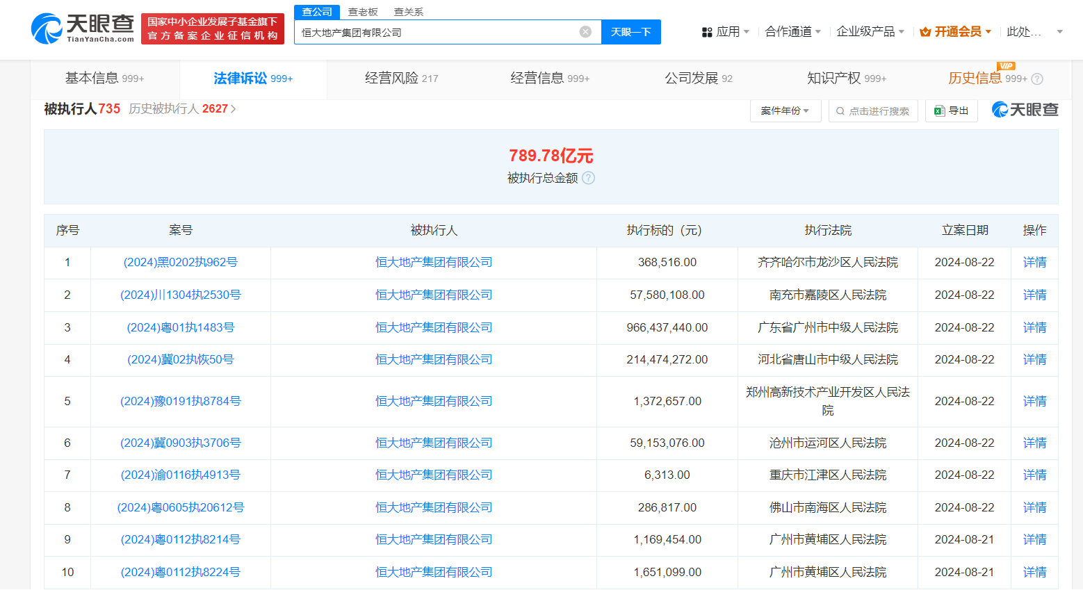
天眼风险信息显示,恒大地产集团有限公司现存730余条被执行人信息,被执行总金额超789亿元。此外,该公司还存在多条限制消费令、失信被执行人(老赖)及终本案件信息。
天眼查法律诉讼信息显示,8月20日至22日,恒大地产集团有限公司新增31条被执行人信息,执行标的合计16.15亿余元,涉及承揽合同纠纷、金融借款合同纠纷等案件,部分案件被执行人还包括恒大地产集团(深圳)有限公司、恒大地产集团北京有限公司、深圳恒大材料设备有限公司等。
天眼风险信息显示,恒大地产集团有限公司现存730余条被执行人信息,被执行总金额超789亿元。此外,该公司还存在多条限制消费令、失信被执行人(老赖)及终本案件信息。


恒大地产
16.1亿
1.TMT观察网遵循行业规范,任何转载的稿件都会明确标注作者和来源;
2.TMT观察网的原创文章,请转载时务必注明文章作者和"来源:TMT观察网",不尊重原创的行为TMT观察网或将追究责任;
3.作者投稿可能会经TMT观察网编辑修改或补充。
