融创等被强制执行1.7亿观点
观察君
2024-09-26 15:09
导读
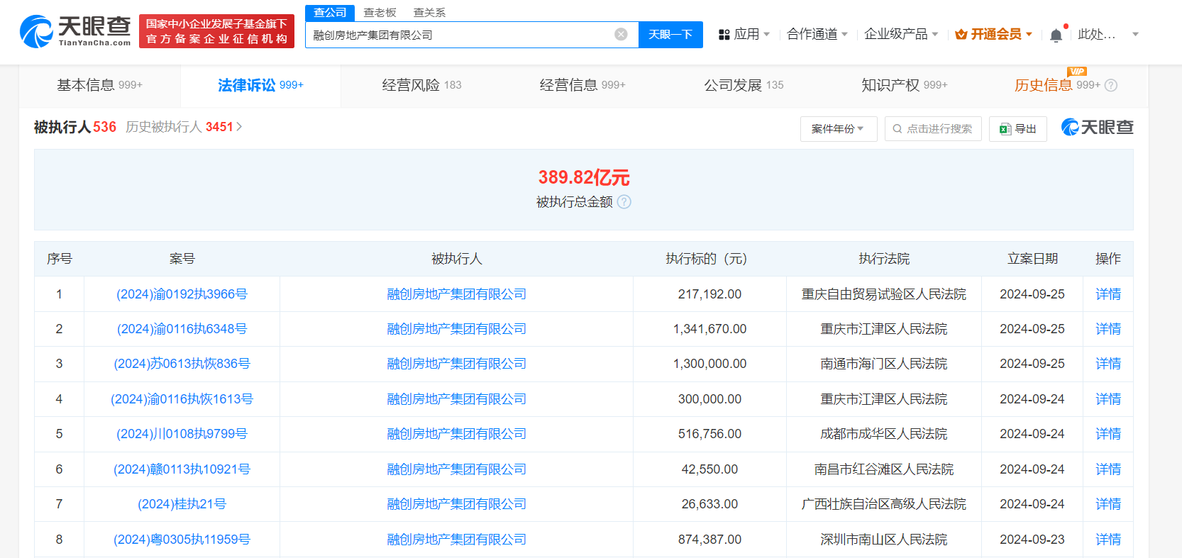
风险信息显示,融创房地产集团有限公司现存530余条被执行人信息,被执行总金额超389亿元,此外,该公司还存在多条限制消费令、失信被执行人(老赖)及终本案件信息。
天眼查法律诉讼信息显示,9月20日至25日,融创房地产集团有限公司新增19条被执行人信息,执行标的合计1.71亿余元,涉及票据追索权纠纷、票据纠纷等案件,部分案件被执行人还包括重庆顺凯建筑工程有限公司、重庆融创津湳房地产经纪有限公司,重庆市拓金建设集团有限公司等,执行法院为重庆自由贸易试验区人民法院、重庆市江津区人民法院、南通市海门区人民法院等。
风险信息显示,融创房地产集团有限公司现存530余条被执行人信息,被执行总金额超389亿元,此外,该公司还存在多条限制消费令、失信被执行人(老赖)及终本案件信息。


融创
1.7亿
1.TMT观察网遵循行业规范,任何转载的稿件都会明确标注作者和来源;
2.TMT观察网的原创文章,请转载时务必注明文章作者和"来源:TMT观察网",不尊重原创的行为TMT观察网或将追究责任;
3.作者投稿可能会经TMT观察网编辑修改或补充。
