涉嫌猥亵儿童导演名下公司均异常 郑某峰名下多家公司被吊销或注销观点
观察君
2025-08-13 13:19
导读
据媒体报道,8月12日,记者从海口政法部门获悉,演员兼导演郑某峰因涉嫌猥亵儿童,早前已被检察院批捕,目前正等待起诉。据悉,郑某峰曾在电影《美人鱼》扮演“郑总”一角。
据媒体报道,8月12日,记者从海口政法部门获悉,演员兼导演郑某峰因涉嫌猥亵儿童,早前已被检察院批捕,目前正等待起诉。据悉,郑某峰曾在电影《美人鱼》扮演“郑总”一角。
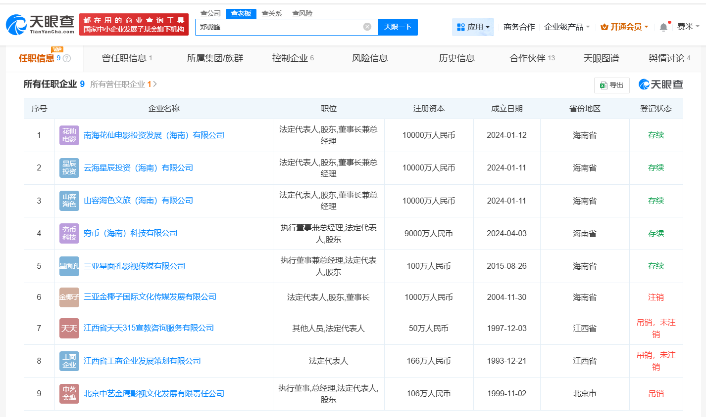
天眼查任职信息显示,郑某峰名下共关联9家企业,5家为存续状态,包括南海花仙电影投资发展(海南)有限公司、云海星辰投资(海南)有限公司、穷币(海南)科技有限公司等,郑某峰在上述公司担任执行董事、董事长、法定代表人等职务。近期,上述五家公司均因未依照期限公示年度报告,被列入经营异常名录,其余4家为注销或吊销状态,包括江西省工商企业发展策划有限公司、北京中艺金鹰影视文化发展有限责任公司等。

郑某峰
1.TMT观察网遵循行业规范,任何转载的稿件都会明确标注作者和来源;
2.TMT观察网的原创文章,请转载时务必注明文章作者和"来源:TMT观察网",不尊重原创的行为TMT观察网或将追究责任;
3.作者投稿可能会经TMT观察网编辑修改或补充。
