被卷诈骗案、遇信任危机,AI能救E签宝?观点
被卷入70亿诈骗案、“假公章”罗生门事件的E签宝,信任危机爆发带来的客户流失风险;电子签行业持续价格战对E签宝和利润的冲击,数据存疑导致资本的退场,正让当前的E签宝处在风雨飘摇中。

撰文 | 曹双涛
编辑 | 杨博丞
题图 | IC Photo
“自华侨系爆发70多亿元的理财产品兑付危机以来,其中以黄金为底层资产的规模约40亿元。我们这些受害者一直都在奔走维权,但几个月时间过去,事件仍未迎来实质性进展。”华侨系受害者张磊(化名)对我们说道。
被卷入70亿诈骗案、“假公章”罗生门事件的E签宝,信任危机爆发带来的客户流失风险;电子签行业持续价格战对E签宝和利润的冲击,数据存疑导致资本的退场,正让当前的E签宝处在风雨飘摇中。
“假公章”罗生门事件,谁在说谎?
华侨系70亿元诈骗案的交易闭环为:投资者作为甲方,向乙方侨行天下运营主体——牦牛信息科技(杭州)有限公司(下称“牦牛科技”)购买实物黄金。甲方从乙方购买的实物黄金授权委托丙方中鑫国际融资租赁(深圳)有限公司(下称“中鑫国际”)租赁经营,丙方和第三方合作赚取的黄金租赁费用,按照约为8%的年化收益率给到甲方。

图源:受访者提供
整个交易闭环下,牦牛科技和中鑫国际形成底层协议后,由E签宝生成制式合同。牦牛科技和中鑫国际形成底层协议,交由E签宝生成制式合同,侨行天下APP采集投资人身份信息、姓名、电话、身份证和实名认证信息,形成一个数据包。用户产生购买行为发生时,通过API接口在E签宝生成投资人电子印章填入电子合同,同时E签宝为该份合同盖上时间戳。
当初我们之所以选择投资,一方面是看中整个交易闭环额度较小、期限灵活的特点;另一方面,基于E签宝为国内多家上市公司和500强企业提供服务的信誉背书。当时大家对合同中涉及的牦牛信息和中鑫国际的身份及相关印证的真实性,没有产生任何怀疑。张磊对我们表示。
侨行天下兑付危机爆发后,中鑫国际及其母公司中国黄金集团发表声明表示,“侨行天下”理财产品中涉及中鑫国际的印章,不管线下实物印章还是线上签订的电子章,都是被冒用的。
E签宝声明称,从未参与牦牛科技业务,并非案件涉案方,牦牛科技的一切不法行为和E签宝无关。E签宝也向案件主办警官表示,牦牛科技截取中鑫国际的区块链部分,自己去做了认证,生成中鑫国际的公章。双方各执一词,陷入真假公章“罗生门”事件。

图源:E签宝官微
对于E签宝的声明和说法,我们这些受害者很难相信。华侨系另一受害者胡帅(化名)向我们表示,作为一家电子合同技术服务商,E签宝是否在客户公章审核和管理上存在不足?这正是受害者和舆论关注的核心问题。
业内人士张扬(化名)同样指出,一是区块链技术在电子签名中的核心作用是存证数据的不可篡改性和可追溯性,但因其无法解决数据上链前的真实性问题。若牦牛科技通过不当手段截取或伪造数据,这和区块链技术本身缺陷无关,或暴露E签宝在权限管理和上链验证流程上管理存在不足。但是否反映出E签宝在权限管理和上链验证流程上的管理存在不足呢?
E签宝在区块链存证环节是否未对权限管理进行有效约束,从而导致牦牛科技能够伪造上链数据?这一问题不仅关系到客户对E签宝的信任,也可能引发整个电子签行业的信任危机。如果“区块链存证”都可能被“截取”,是否会导致假章泛滥?这些问题值得深思。
二是电子签行业涉及四个重要步骤,依次为:
个人或企业在电子签平台注册账号,进行身份实名认证,是电子签名最核心的一步,目的是确保签章所对应的主体是真实存在的。自然人认证方式通过包括身份证+人脸识别。法人或组织需提供营业执照、法定代表人身份证明、双方正向或逆向对公打款等等。
由CA机构(电子认证服务提供者)生成与身份绑定的加密电子签名证书,确保签署的唯一性和防篡改性。
签署方通过签章平台(如e签宝、法大大等)进行具体的电子签名操作,将签章盖到合同上。
签章平台通过时间戳、区块链等技术手段记录签名的时间、内容,并确保内容未被篡改。验证环节可确认签章是否真实有效,以及签章时使用的证书是否与签署人的身份信息一致。
电子签名业内四个步骤往往由不同服务商所提供,上上签显示华侨系投资者通过E签宝签署的合同由黑龙江省数字证书认证有限公司所提供。时间戳服务提供者为e签宝专用时间戳:timestamp.esign.cn。
虽说这家机构在工信部获批的55家CA机构之列,但天眼查显示2024年12月该公司已被哈尔滨市香坊区市场监督管理局列入经营异常。这又引发受害者对签章合法性及技术可靠性的质疑。

图源:上上签

图源:天眼查
三是E签宝提供时间戳和区块链存证服务,表明其参与了合同签署流程,但声明中却称与牦牛科技无关。这种表态是否与其技术服务中应承担的核验职责存在矛盾?这种矛盾进一步引发受害者对E签宝在公章核验环节是否存在审核漏洞的质疑。
根据《电子签名法》《电子认证服务管理办法》《电子认证服务许可证管理办法》相关规定,要求身份真实性审核是电子签名的法律效力前提;RA和CA机构(注册代理机构)必须完成身份认证,不得转授权;RA机构必须按照CA机构授权书规定完成身份认证职责。
换言之,E签宝若仅完成后两步或牦牛科技通过E签宝的API接口生成电子合同,而非使用e签宝的标准化流程。那么E签宝是否需对牦牛科技通过API接口提交的身份认证数据和公章真实性进行复核?如果E签宝未履行复核职责或接口设计存在漏洞,这种做法是否符合法律规定?这些问题仍需进一步调查。
此外,如果伪造行为确实是牦牛科技发起,而E签宝通过时间戳盖章或区块链存证提供技术支持,这种行为是否可能被视为间接背书?这同样需要权威部门的进一步认定。
胡帅接着表示,当前的E签宝处境非常尴尬。若他们承认公章是假的,E签宝或将面临信任崩塌问题。若承认公章是假,其和客户利益构成冲突,得罪中国黄金这样的大企业,后果是不言而喻的。前者事关生死,后者事关利益,进退两难的E签宝也是其CEO金宏洲针对媒体问道华侨系问题时,表示不便作答,“请找有关部门”的原因。E签宝的困境不仅关乎自身生存,更可能引发整个电子签行业的信任危机。
行业陷入低价恶性竞争,E签宝如何应对?
当然张扬和华侨系受害者对E签宝的各种质疑,仅代表个人观点,具体原因仍需相关部门进行完整取证、深入调查后盖棺定论。但摆在E签宝面前更现实的问题是,如何应对2025年行业整个电子签行业更残酷的价格战。
某电子签代理商李强(化名)告诉我们,为扩大市场份额,E签宝打法相当凶猛,电子签虽是虚拟产品,但除E签宝外其他厂商均要求代理商提前预存。换言之,即使部分电子签厂家一年对外宣传能做到几亿营收,可能和家电行业类似,“货”都压在代理商手中。
另一方面,为借助代理商资源拿下更多中小客户,E签宝对代理商不收相关费用,利润拉到28%或更高。E签宝优势为:电子签行业往往为从上到下传播。即大集团使用后,集团子公司或供应商基于现实因素考虑,往往跟着一起使用,这正是E签宝频频攻入大集团的原因。

图源:E签宝官网
但随着爱签、契约锁、上上签、法大大、大鸿签、云尚签、法大大、腾讯云签等大量企业的涌入,叠加降本增效成为企业共识、中小企业发展承压、外资企业退出,整个赛道愈发内卷。
如李强所言,2024年上半年国内354家相关的软件上市公司合计利润仅有6.9亿元,同比下跌91.62%,利润率只有0.23%。换言之,软件公司实现1000元的营收,扣除各种成本后,最后留下的利润仅有2.3元。
李强接着表示,电子签行业中的销售策略为客户报备制度。简单来说就是,若你同事将A公司信息报备至公司系统后,该客户即被视为你同事的潜在客户,其他销售人员在一定期限内不得与其进行业务接触或销售活动,目的是维护销售团队的内部竞争公平,避免资源冲突,提高整体销售效率。
为完成考核业绩,电子签厂家直客、代理商、电销等渠道需不断拓展新客户。一家新成立的创业公司往往是多个电子签厂家的直客和代理商同时跟进,即使价格不是客户单纯考虑的因素,但现在同行报价没有最低只有更低,甚至同一品牌不同渠道也在互相争抢新客。
李强的说法在E签宝代理商陆洋(化名)处得到进一步佐证。陆洋介绍,E签宝的收费模式主要包括版本费用和流量费用两部分。用户购买基础版本的费用为980元/年,对应的合同数量为100份。年度签署合同数量超过100份时,需支付额外的流量费用。合同签署数量越多,单价也相应降低。
年底促销时,E签宝以8折优惠提供服务,单份合同的价格约为7.84元。但客户仍普遍认为价格偏高,SaaS渠道中间商报价,直接低至6元/份。这位客户选择与法大大合作,客户称,法大大的代理商能够以5折优惠价合作,即每份合同仅需3.99元,而其服务质量与E签宝相差无几。在没有其他影响因素的情况下,客户自然倾向于选择价格更低的平台。

图源:受访者提供
2025年这种低价竞争或将成为常态化,虽说电子签的法律效力能提高企业数字化水平,减少办公用纸使用能助推企业ESG发展。如转转集团使用电子签26万份,全年减碳45.69吨。但公开数据显示,当前电子签的市场渗透率只有5%。渗透率偏低的背后,仍是不同企业需求差异较大,这给开发新客户无疑带来诸多压力。陆洋表示。
陆洋的话在某食品企业渠道经理钱奇(化名)这里同样可以得到印证,钱奇表示,使用电子合同我们是省事了,但肯定会引发经销商不满。签署电子合同涉及注册、签章等流程,很多线下经销商老板更喜欢看得见摸得着的东西。另外,其他品牌都使用纸质合同和厂家合作,若我们强迫经销商必须使用电子合同让经销商不满他们还会和我们合作吗?
存疑的数据,退场的资本
电子签厂家或许也意识到行业的内卷,纷纷发力AI大模型试图完成破局。E签宝联合创始人兼副总裁张晋表曾示,面对AI历史性的战略机遇,E签宝提出了AI+电子合同战略,将AI能力覆盖合同拟审签管履全生命周期的每一个节点。大模型赋能合同管理才刚刚开始,我们将持续为客户带来有价值的AI功能。
但张强和陆洋向我们表达着相似的观点,AI+电子合同是未来趋势不假,但趋势爆发前仍有诸多难点需要攻克。一方面,在当前TOB端和TOG端愈发看预算下,若AI+电子合同给客户报价较高,客户能否接受呢?毕竟法律效力与合规性、安全性与防篡改、用户体验、身份验证与不可抵赖性这四大需求,已能满足客户需求。
另一方面,这两年不管是个人或是企业,明显感觉到钱越来越不好赚。现在很多企业老板的心态是,我花两三万买你们的产品,你们的产品能帮我赚多少钱?既然帮我赚的钱少或根本不赚钱,你给我谈什么数字化!我现在能维持业务运作、给员工发工资就不错了。
一线代理商的担忧并非不是没有道理,和AI大模型强相关的智算中心,不少上市公司或暂停或取消或违约,出租率低、盈利难更成为行业现状。
业内人士透露,机房的出租率普遍在20%~30%之间,有些企业级智算中心甚至只有10%左右。智算中心产业链公司智伯乐科技CEO岳远航在接受媒体采访时表示,一个智算中心纵使设备出租率涨到60%,至少还要花上7年才能回本。但当前如此低的出租率,又要多长时间才能回本呢?
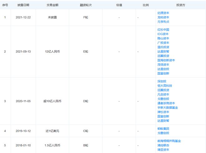
AI大模型短期内对厂商营收拉动有限,越拉越低的单份合同价格背后是代理商利润、客情跟踪和维护、云计算相关投入、研发投入等等,这意味着电子签行业短期仍依赖资本“输血”。但资本对电子签乃至整个SaaS渠道都在冷静,如E签宝自2021年至今无任何新资本进入。

图源:天眼查
这背后表面看是E签宝深陷数据争议中,如上上签创始人兼CEO万敏发了一篇上万字的文章,直指e签宝融资金额造假、业务数据造假、市场占有率造假等内幕。
更深层来看,资本市场愈发看重SaaS企业的盈利问题,但盈利难却是SaaS企业的通病。换言之,盈利问题或将成为包括E签宝在内的电子签厂商的大考。
面对国内愈发内卷的电子签赛道,E签宝也在探索海外市场。但客观来说,软件出海需要解决的问题实在太多。比如说,业务与数据的合规性问题、国际财务管理、跨国招聘与派遣的合规性、多数据中心使用和跨国协作、生态构建、打通海外政商关系、基于海外不同国家不同业态需求痛点进行产品重构等等。
这些问题的存在,正是在2024年中企出海浪潮下,整个SaaS行业出海仍在摸索阶段的重要原因。只是“假公章”罗生门事件的持续发酵,E签宝又要如何解决信任危机呢?
1.TMT观察网遵循行业规范,任何转载的稿件都会明确标注作者和来源;
2.TMT观察网的原创文章,请转载时务必注明文章作者和"来源:TMT观察网",不尊重原创的行为TMT观察网或将追究责任;
3.作者投稿可能会经TMT观察网编辑修改或补充。
