高迪合作方曾带货未达预期被判退款 揭秘网红高迪带货涉事公司观点
观察君
2024-08-09 10:59
导读
今年1月,数十个商家让网红高迪带货直播,给了6万-10万不等的“坑位费”,但直播下的订单下播后却被大量退货,商家质疑高迪方刷单并报警,目前警方已立案。
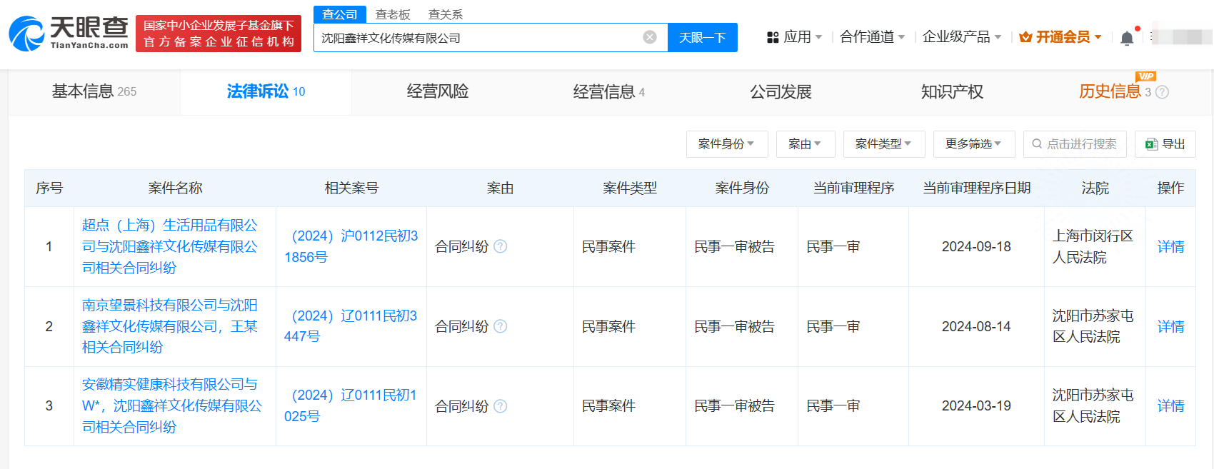
据媒体报道,今年1月,数十个商家让网红高迪带货直播,给了6万-10万不等的“坑位费”,但直播下的订单下播后却被大量退货,商家质疑高迪方刷单并报警,目前警方已立案。据悉,商家签约公司为沈阳鑫祥文化传媒有限公司,而与高迪签订直播合同的是松原市明佳影视文化传媒有限公司。鑫祥公司通过明佳公司认识高迪,由明佳与高迪签订直播合同。
天眼查App显示,沈阳鑫祥文化传媒有限公司成立于2023年9月,法定代表人为王爽,注册资本200万人民币,由王爽全资持股。司法案件信息显示,近期,该公司因合同纠纷被上海、安徽、南京的多家公司起诉。松原市明佳影视文化传媒有限公司成立于2021年3月,法定代表人为赵晶,注册资本50万人民币,由赵晶全资持股。司法案件信息显示,该公司曾因直播带货未达到保底订单数,被法院判决退还原告预付款9.3万余元。去年5月,该公司已因此案被强制执行9.4万余元。



网红
高迪
1.TMT观察网遵循行业规范,任何转载的稿件都会明确标注作者和来源;
2.TMT观察网的原创文章,请转载时务必注明文章作者和"来源:TMT观察网",不尊重原创的行为TMT观察网或将追究责任;
3.作者投稿可能会经TMT观察网编辑修改或补充。
