哪吒相关系列商标遭抢注 深圳一公司申请多枚哪吒相关商标观点
观察君
2025-02-13 23:31
导读
2月13日下午,据网络平台数据,电影《哪吒之魔童闹海》总票房(含点映、预售及海外票房)已突破98亿元。
2月13日下午,据网络平台数据,电影《哪吒之魔童闹海》总票房(含点映、预售及海外票房)已突破98亿元。
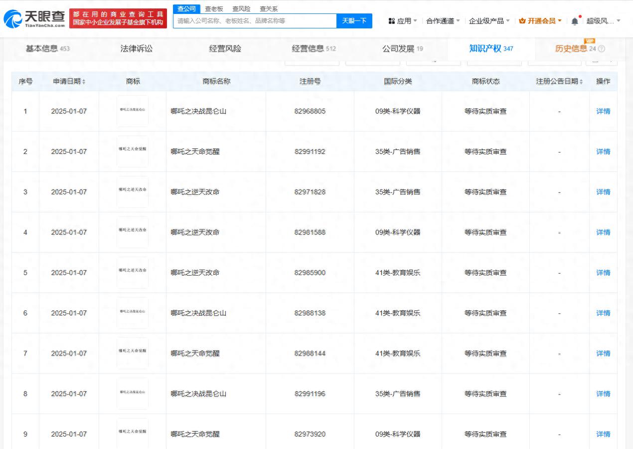
天眼查知识产权信息显示,近期,深圳某公司申请注册了多枚“哪吒之决战昆仑山”“哪吒之逆天改命”“哪吒之天命觉醒”商标,国际分类涉及广告销售、教育娱乐、科学仪器,当前商标状态均为等待实质审查。




哪吒
1.TMT观察网遵循行业规范,任何转载的稿件都会明确标注作者和来源;
2.TMT观察网的原创文章,请转载时务必注明文章作者和"来源:TMT观察网",不尊重原创的行为TMT观察网或将追究责任;
3.作者投稿可能会经TMT观察网编辑修改或补充。
