科蒂中国投资公司增资至约16.9亿 科蒂中国投资公司今年多次增资观点
观察君
2025-12-09 15:15
导读
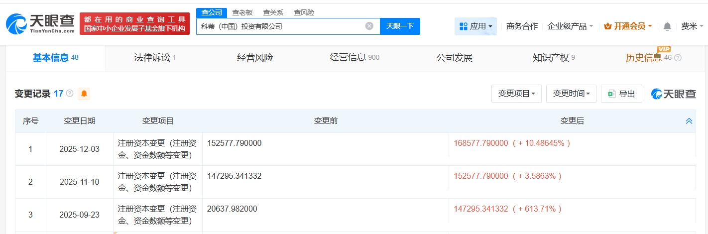
天眼查App显示,近日,科蒂(中国)投资有限公司发生工商变更,注册资本由约15.3亿人民币增至约16.9亿人民币,增幅约10.5%。值得一提的是,今年9月和11月,该公司曾两次增资。
天眼查App显示,近日,科蒂(中国)投资有限公司发生工商变更,注册资本由约15.3亿人民币增至约16.9亿人民币,增幅约10.5%。值得一提的是,今年9月和11月,该公司曾两次增资。
该公司成立于2013年1月,法定代表人为MATHIEU,AUGUSTIN,PIERRE,MARIE DE JUSSIEU DUFRESNE,经营范围包括从事化妆品、美容用品、卫生用品、生化及日化用品的批发、佣金代理、进出口业务和其他相关配套业务等,由科蒂香港有限公司全资持股。



科蒂中国投资公司
1.TMT观察网遵循行业规范,任何转载的稿件都会明确标注作者和来源;
2.TMT观察网的原创文章,请转载时务必注明文章作者和"来源:TMT观察网",不尊重原创的行为TMT观察网或将追究责任;
3.作者投稿可能会经TMT观察网编辑修改或补充。
