平安科技申请新言大模型商标观点
观察君
2025-02-08 20:36
导读
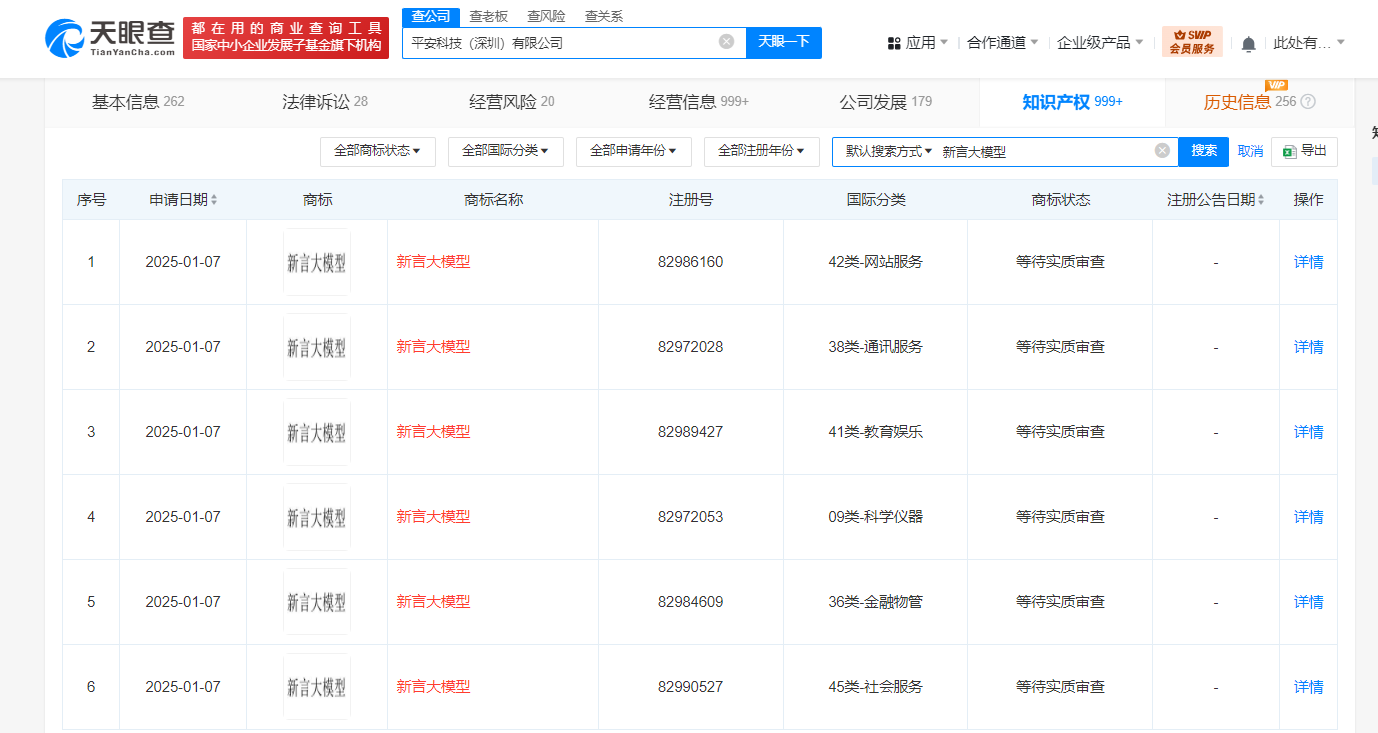
天眼查知识产权信息显示,近日,平安科技(深圳)有限公司申请注册多枚“新言大模型”商标,国际分类含科学仪器、通讯服务、金融物管等,当前商标状态均为等待实质审查。
天眼查知识产权信息显示,近日,平安科技(深圳)有限公司申请注册多枚“新言大模型”商标,国际分类含科学仪器、通讯服务、金融物管等,当前商标状态均为等待实质审查。
平安科技(深圳)有限公司成立于2008年5月,法定代表人为卢跃,注册资本约53.1亿人民币,经营范围含计算机软硬件的开发、设计、技术咨询及相关技术服务,计算机系统集成,计算机网络维护,经济信息咨询等。股东信息显示,该公司由中国平安(601318)及旗下深圳平安金融科技咨询有限公司共同持股。


平安科技
1.TMT观察网遵循行业规范,任何转载的稿件都会明确标注作者和来源;
2.TMT观察网的原创文章,请转载时务必注明文章作者和"来源:TMT观察网",不尊重原创的行为TMT观察网或将追究责任;
3.作者投稿可能会经TMT观察网编辑修改或补充。
