恋与深空相关公司7月被约谈 恋与深空相关公司近期被约谈观点
观察君
2025-12-16 16:21
导读
12月16日,恋与深空陷入恶俗争议。此次争议源于游戏当日发布的“夏以昼·慵懒共谋”新PV,部分玩家指责其内容低俗。
12月16日,恋与深空陷入恶俗争议。此次争议源于游戏当日发布的“夏以昼·慵懒共谋”新PV,部分玩家指责其内容低俗。
据报道,今年7月,安徽省市场监管局约谈了通过全国12315平台梳理的2025年以来预付式消费投诉量排名前五的中国移动通信集团安徽有限公司、芜湖叠纸网络科技有限公司等五家企业。
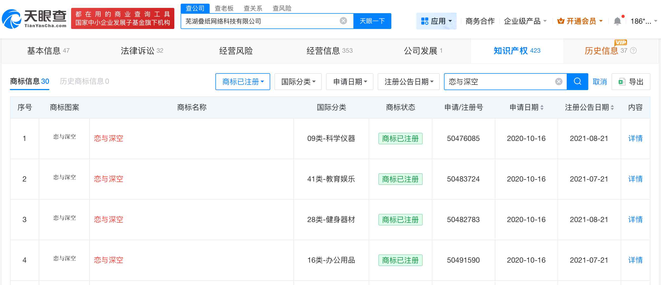
天眼查工商信息显示,芜湖叠纸网络科技有限公司成立于2016年6月,法定代表人为姚飞,注册资本1000万人民币,经营范围包括利用信息网络经营游戏产品(含网络游戏虚拟货币发行)等。股东信息显示,该公司由苏州叠纸网络科技股份有限公司全资持股。知识产权信息显示,芜湖叠纸网络科技有限公司已申请注册多枚“恋与深空”商标,国际分类包括科学仪器、教育娱乐等,目前上述商标多已注册成功。




恋与深空
1.TMT观察网遵循行业规范,任何转载的稿件都会明确标注作者和来源;
2.TMT观察网的原创文章,请转载时务必注明文章作者和"来源:TMT观察网",不尊重原创的行为TMT观察网或将追究责任;
3.作者投稿可能会经TMT观察网编辑修改或补充。
