阿里巴巴申请淘宝闪购点外卖更优惠商标观点
观察君
2025-07-14 16:12
导读
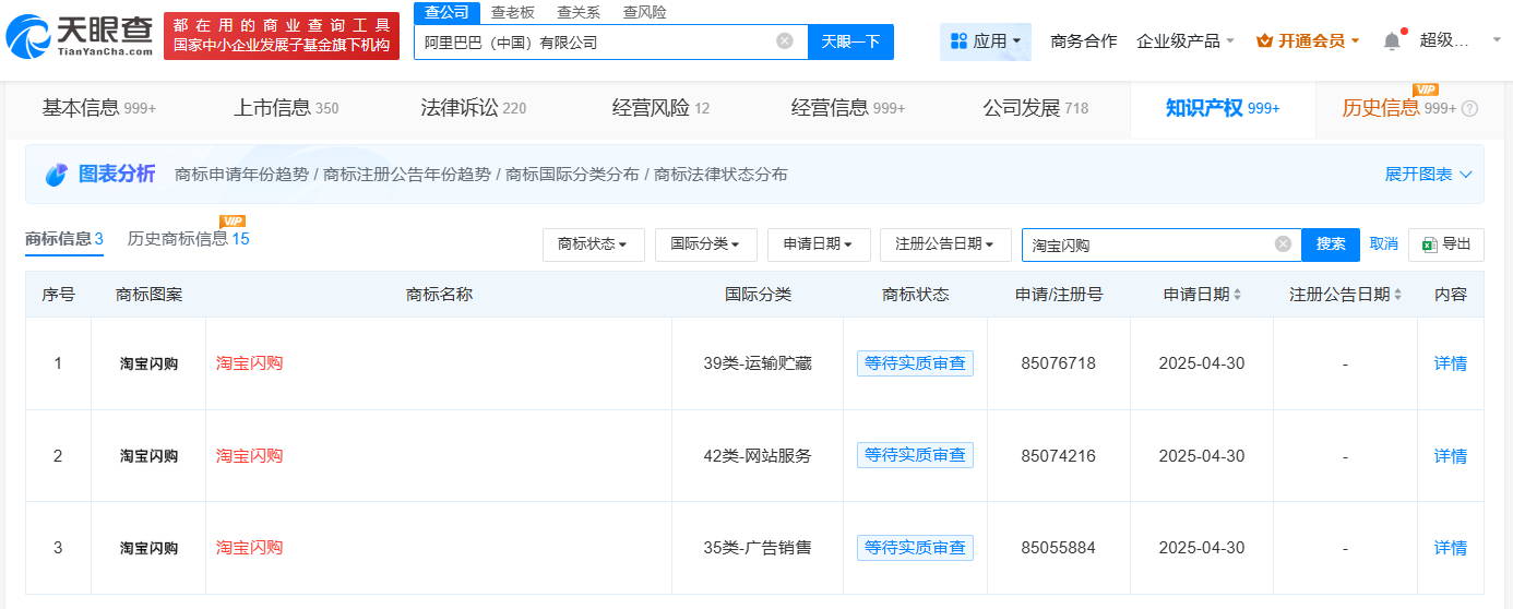
天眼查App显示,近日,阿里巴巴(中国)有限公司申请注册“淘宝闪购 点外卖更优惠”商标,国际分类为广告销售,当前商标状态为等待实质审查。此前,该公司已申请注册3枚“淘宝闪购”商标。
天眼查App显示,近日,阿里巴巴(中国)有限公司申请注册“淘宝闪购 点外卖更优惠”商标,国际分类为广告销售,当前商标状态为等待实质审查。此前,该公司已申请注册3枚“淘宝闪购”商标。


阿里巴巴
1.TMT观察网遵循行业规范,任何转载的稿件都会明确标注作者和来源;
2.TMT观察网的原创文章,请转载时务必注明文章作者和"来源:TMT观察网",不尊重原创的行为TMT观察网或将追究责任;
3.作者投稿可能会经TMT观察网编辑修改或补充。
