京东科技控股增资至约55.5亿 京东科技控股近半年多次增资观点
观察君
2026-01-30 16:28
导读
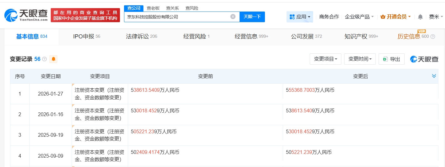
天眼查工商信息显示,近日,京东科技控股股份有限公司发生工商变更,注册资本由约53.9亿人民币增至约55.5亿人民币。值得一提的是,自去年9月以来,该公司已多次增资。
天眼查工商信息显示,近日,京东科技控股股份有限公司发生工商变更,注册资本由约53.9亿人民币增至约55.5亿人民币。值得一提的是,自去年9月以来,该公司已多次增资。
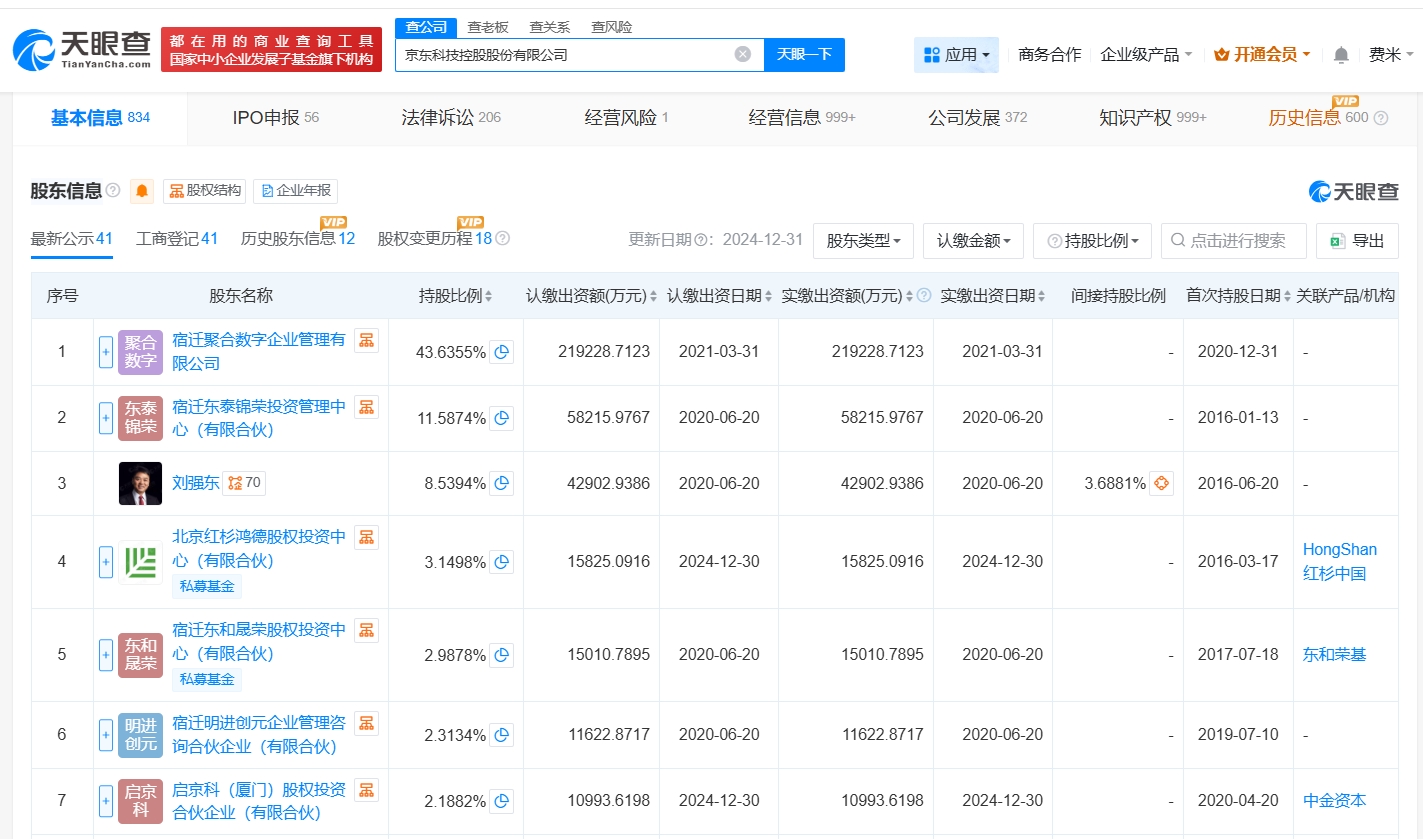
京东科技控股股份有限公司成立于2012年9月,法定代表人为曹鹏,经营范围包括企业总部管理、以自有资金从事投资活动、自有资金投资的资产管理服务、企业管理咨询等。股东信息显示,该公司由宿迁聚合数字企业管理有限公司、宿迁东泰锦荣投资管理中心(有限合伙)、刘强东等共同持股。



京东科技控股
1.TMT观察网遵循行业规范,任何转载的稿件都会明确标注作者和来源;
2.TMT观察网的原创文章,请转载时务必注明文章作者和"来源:TMT观察网",不尊重原创的行为TMT观察网或将追究责任;
3.作者投稿可能会经TMT观察网编辑修改或补充。
