理想汽车申请注册三助一师商标观点
观察君
2025-03-04 10:49
导读
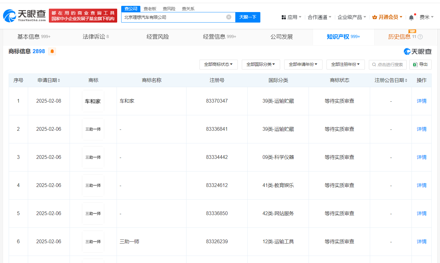
近日,北京理想汽车有限公司申请注册多枚“三助一师”商标,国际分类包含运输工具、网站服务、教育娱乐等,当前商标状态均为等待实质审查。
天眼查知识产权信息显示,近日,北京理想汽车有限公司申请注册多枚“三助一师”商标,国际分类包含运输工具、网站服务、教育娱乐等,当前商标状态均为等待实质审查。
公开信息显示,理想汽车中的“三助一师”主要指的是其智能座舱中的AI语音助手设计理念,包括用车助手、出行助手、娱乐助手、百科老师四个角色。



理想汽车
1.TMT观察网遵循行业规范,任何转载的稿件都会明确标注作者和来源;
2.TMT观察网的原创文章,请转载时务必注明文章作者和"来源:TMT观察网",不尊重原创的行为TMT观察网或将追究责任;
3.作者投稿可能会经TMT观察网编辑修改或补充。
