百度申请多项“百V聊楼市”商标快报
TechWeb.com.cn
2021-08-27 17:52
导读
商标申请信息,注册申请中,目前商标状态均为。
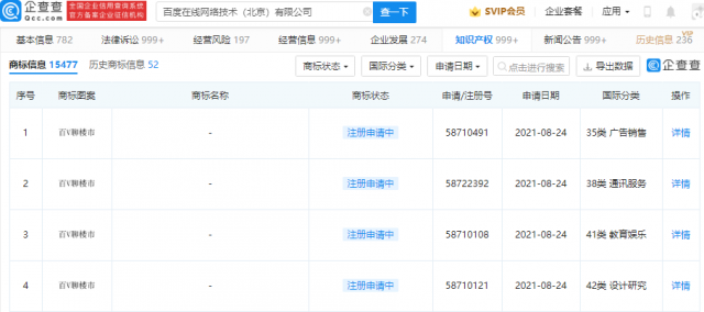
【TechWeb】企查查APP显示,近日,百度在线网络技术(北京)有限公司新增多项“百V聊楼市”商标申请信息,国际分类涉及广告销售、通讯服务、教育娱乐等,目前商标状态均为“注册申请中”。


商标
申请
近日
百度
在线
1.TMT观察网遵循行业规范,任何转载的稿件都会明确标注作者和来源;
2.TMT观察网的原创文章,请转载时务必注明文章作者和"来源:TMT观察网",不尊重原创的行为TMT观察网或将追究责任;
3.作者投稿可能会经TMT观察网编辑修改或补充。
