顿顿姓名商标被抢注 东方甄选已注册顿顿姓名商标观点
观察君
2025-06-19 11:54
导读
据媒体报道,6月18日,东方甄选官方账号发布视频,顿顿官宣离职,表示与公司合约到期,感谢公司和俞敏洪老师,“三十而立,将尝试挑战自己未知的能力,继续前行”,东方甄选:愿顿顿前程似锦,一路升华。
据媒体报道,6月18日,东方甄选官方账号发布视频,顿顿官宣离职,表示与公司合约到期,感谢公司和俞敏洪老师,“三十而立,将尝试挑战自己未知的能力,继续前行”,东方甄选:愿顿顿前程似锦,一路升华。
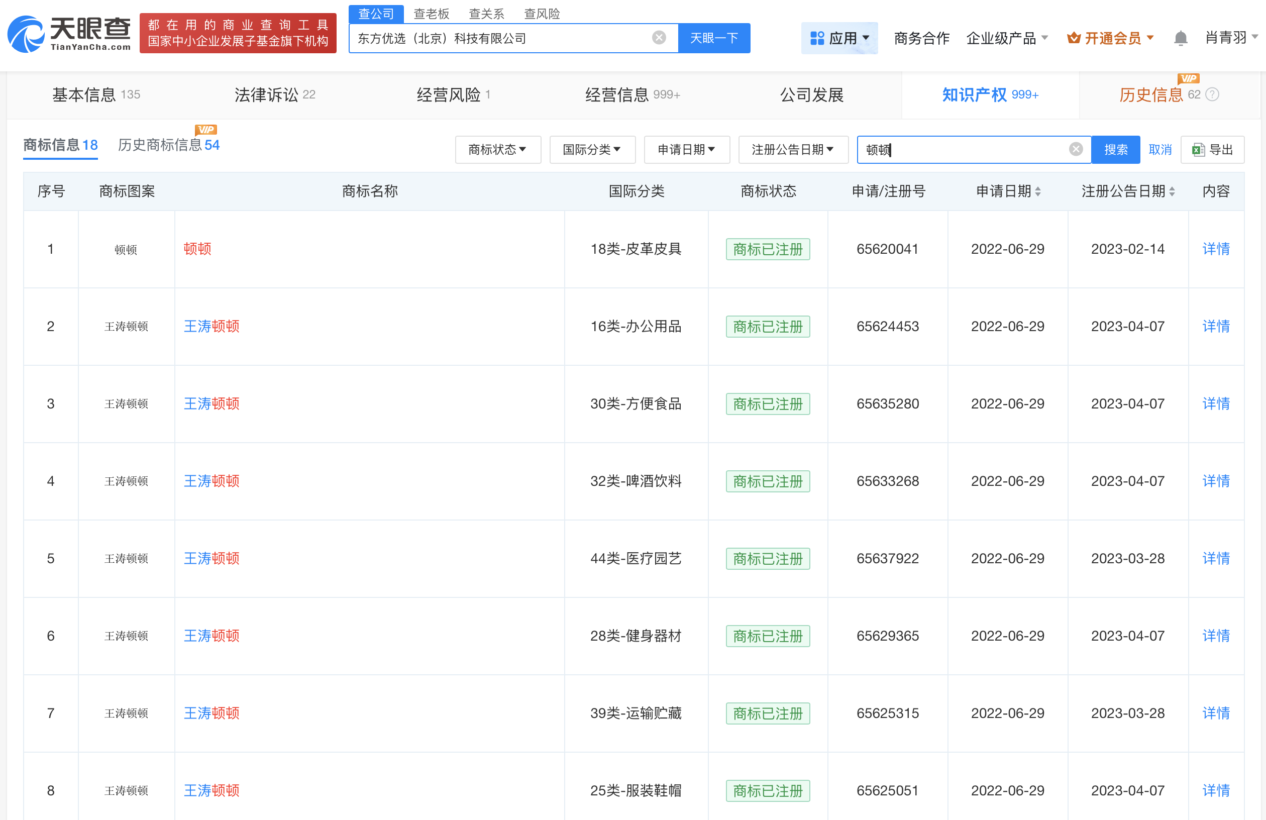
天眼查知识产权信息显示,东方甄选旗下东方优选(北京)科技有限公司曾于2022年申请注册“顿顿”“王涛顿顿”商标,国际分类涉及皮革皮具、办公用品、方便食品等,当前商标状态均已注册。此外,“顿顿”已被多方申请注册为商标,申请人包括河南某餐饮管理有限公司、浙江某科技有限公司等,国际分类包括广告销售、布料床单等,当前部分商标已成功注册。


顿顿
1.TMT观察网遵循行业规范,任何转载的稿件都会明确标注作者和来源;
2.TMT观察网的原创文章,请转载时务必注明文章作者和"来源:TMT观察网",不尊重原创的行为TMT观察网或将追究责任;
3.作者投稿可能会经TMT观察网编辑修改或补充。
