花样年集团等被强制执行5.4亿观点
观察君
2024-11-26 16:25
导读
近日,花样年集团(中国)有限公司新增2条被执行人信息,执行标的合计5.46亿余元,涉及建设工程合同纠纷等案件,被执行人还包括深圳市花样祥投资发展有限公司、深圳市花样年地产集团有限公司、深圳市花样年城市发展运营(集团)有限公司等,执行法院为广东省深圳市中级人民法院、崇州市人民法院。
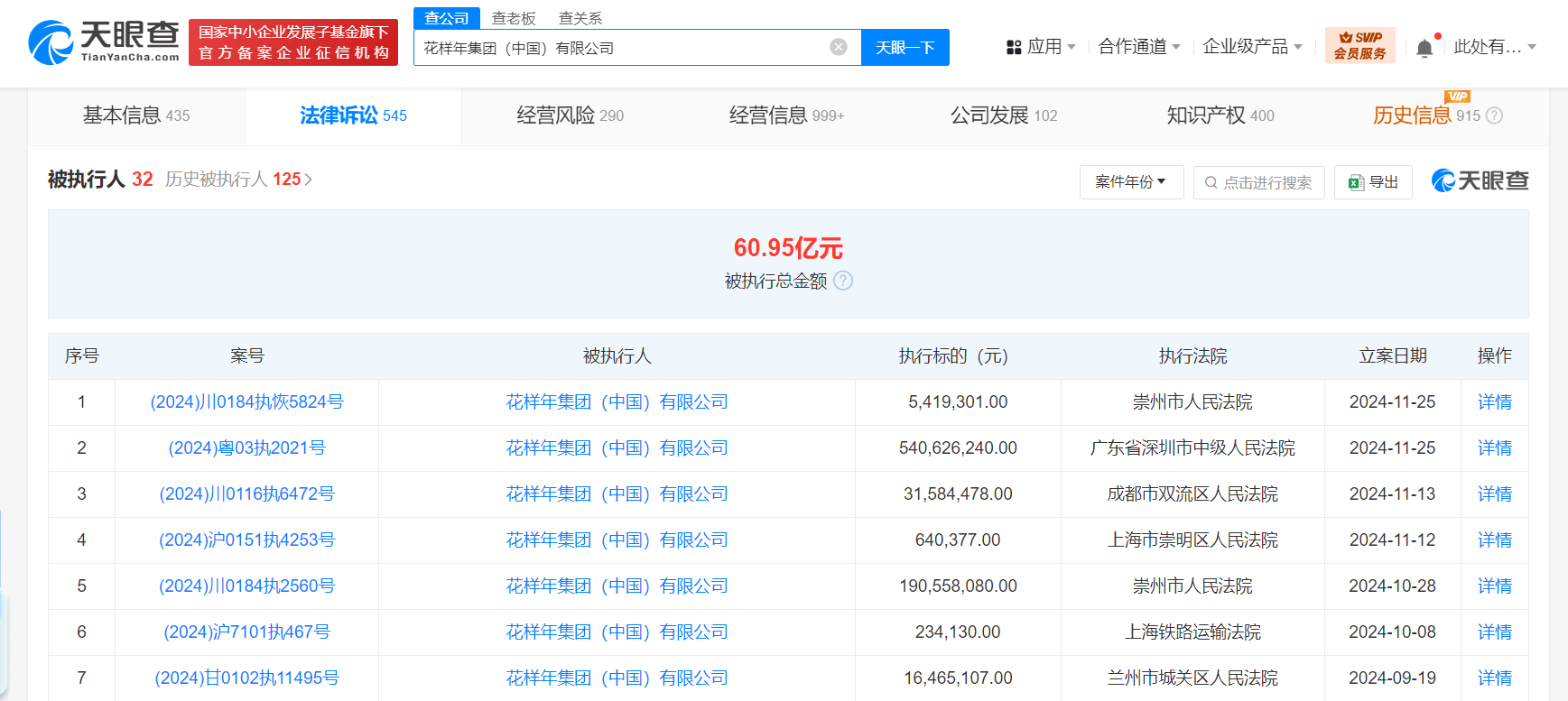
天眼查法律诉讼信息显示,近日,花样年集团(中国)有限公司新增2条被执行人信息,执行标的合计5.46亿余元,涉及建设工程合同纠纷等案件,被执行人还包括深圳市花样祥投资发展有限公司、深圳市花样年地产集团有限公司、深圳市花样年城市发展运营(集团)有限公司等,执行法院为广东省深圳市中级人民法院、崇州市人民法院。
天眼风险信息显示,花样年集团(中国)有限公司现存30余条被执行人信息,被执行总金额超60亿元。此外,该公司还存在多条限制消费令、失信被执行人(老赖)及终本案件信息。


花样年集团
5.4亿
1.TMT观察网遵循行业规范,任何转载的稿件都会明确标注作者和来源;
2.TMT观察网的原创文章,请转载时务必注明文章作者和"来源:TMT观察网",不尊重原创的行为TMT观察网或将追究责任;
3.作者投稿可能会经TMT观察网编辑修改或补充。
