哪吒2出品方申请多枚角色武器商标 哪吒2出品方申请多枚角色法宝商标观点
观察君
2025-03-18 15:41
导读
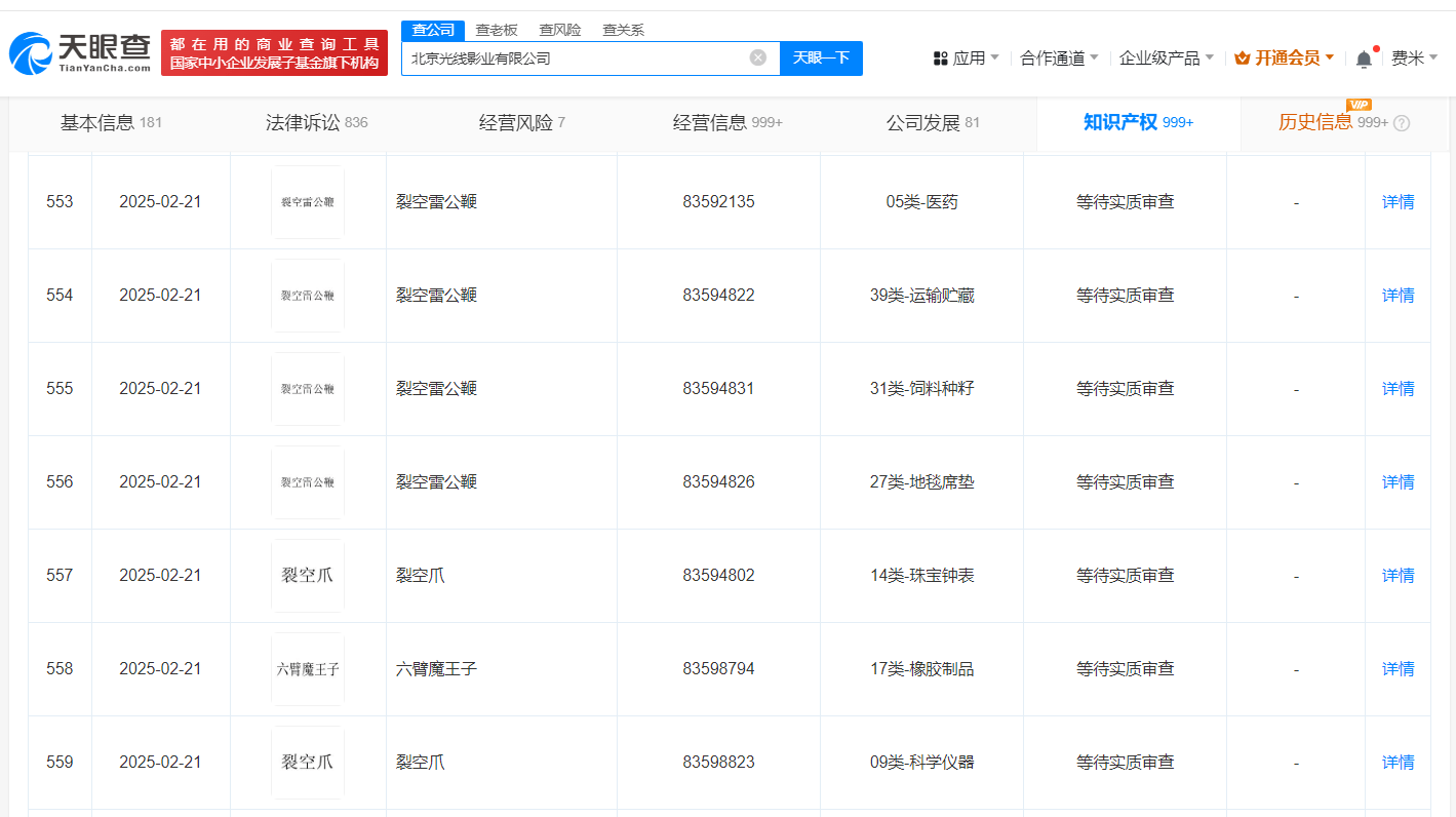
近日,《哪吒2》出品方之一北京光线影业有限公司申请注册多枚“裂空雷公鞭”“裂空爪”文字商标及无量仙翁的天元鼎、石矶娘娘的魔镜等图形商标,国际分类包括饲料种籽、厨房洁具、布料床单等,当前商标状态均为等待实质审查。
天眼查知识产权信息显示,近日,《哪吒2》出品方之一北京光线影业有限公司申请注册多枚“裂空雷公鞭”“裂空爪”文字商标及无量仙翁的天元鼎、石矶娘娘的魔镜等图形商标,国际分类包括饲料种籽、厨房洁具、布料床单等,当前商标状态均为等待实质审查。
北京光线影业有限公司成立于2004年10月,法定代表人为王长田,注册资本18.9亿人民币,经营范围包括广播电视节目制作、电视剧制作、电影发行等,由光线传媒(300251)全资持股。




哪吒2
1.TMT观察网遵循行业规范,任何转载的稿件都会明确标注作者和来源;
2.TMT观察网的原创文章,请转载时务必注明文章作者和"来源:TMT观察网",不尊重原创的行为TMT观察网或将追究责任;
3.作者投稿可能会经TMT观察网编辑修改或补充。
