小米投资健身服务APP“e健身”,后者提供健身课程的开发及培训等快报
TechWeb.com.cn
2021-08-17 11:42
导读
e健身是一款健身服务app,新增小米关联公司瀚星创业投资有限公司为股东,其公司成立于2015年。
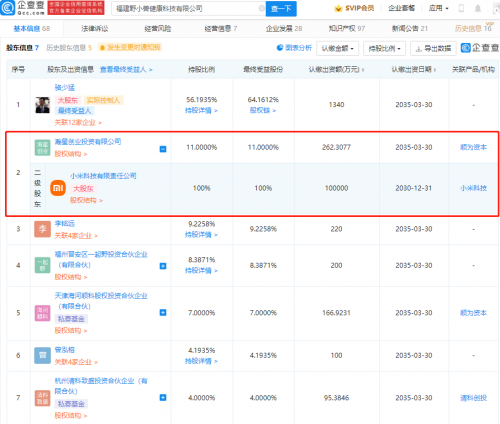
【TechWeb】企查查APP显示,8月16日,福建野小兽健康科技有限公司发生工商变更,新增小米关联公司瀚星创业投资有限公司为股东,同时公司注册资本由2000万元人民币增加至2384.62万元人民币,增幅为19.23%。
企查查信息显示,e健身是一款健身服务app,致力于提供各类健身课程的开发以及专业的课程培训,其公司成立于2015年,法定代表人为骆少猛,经营范围包含:数字内容制作服务(不含出版发行);互联网数据服务;虚拟现实设备制造;金属制品研发;体育用品制造等。




公司
服务
有限公司
显示
健身
1.TMT观察网遵循行业规范,任何转载的稿件都会明确标注作者和来源;
2.TMT观察网的原创文章,请转载时务必注明文章作者和"来源:TMT观察网",不尊重原创的行为TMT观察网或将追究责任;
3.作者投稿可能会经TMT观察网编辑修改或补充。
