美国运营商Verizon确认:三星下半年将推Galaxy Note 10 5G版快报
此前多次曝光的又一款5G新机也首次得到确认,支持5G网络的高配版机型有望被命名为Galaxy Note10 Pro,有消息称新款S-Pen将内置摄像头。
【TechWeb】虽然前不久全球首款正式上市的5G手机三星Galaxy S10 5G版在韩国遇到了一些列问题,但这并没有影响该机以及另一款5G手机LG G8 ThinQ 5G版在美国的上市步伐。现在有最新消息,此前多次曝光的又一款5G新机也首次得到确认。

据上架了这两款5G手机的美国运营商Verizon首席执行官Hans Vestberg透露,今年下半年将会在Verizon上架第三款5G手机——Galaxy Note 10 5G版,这款新机此前已得到多次曝光,不过这还是该机首次得到正规渠道的确认。
据此前外媒透露的消息,三星计划在Note系列产品线上采用与S10系列相似的产品策略,不同的是以往的命名方式将得到改变,支持5G网络的高配版机型有望被命名为Galaxy Note10 Pro。

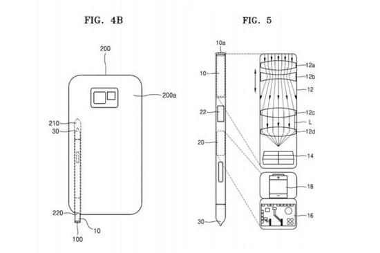
其他方面,根据此前曝光的消息,三星Note10 Pro将搭载6.75英寸QHD+超感光开孔全视屏,支持HDR+高动态范围图像,搭载的仍为高通骁龙855移动平台,同时内置X50 5G基带以支持5G网络。此外,Note10 Pro将后置横排四摄,分别为1200万像素广角镜头+1200万像素长焦镜头+1600万像素超广角镜头+TOF镜头,前置1000万+800万像素双摄像头。并将配备S-Pen手写笔,有消息称新款S-Pen将内置摄像头,支持光学防抖和变焦。
据悉,三星将今年8月份左右推出全新的Galaxy Note 10系列新机,更多详细信息,我们拭目以待。
1.TMT观察网遵循行业规范,任何转载的稿件都会明确标注作者和来源;
2.TMT观察网的原创文章,请转载时务必注明文章作者和"来源:TMT观察网",不尊重原创的行为TMT观察网或将追究责任;
3.作者投稿可能会经TMT观察网编辑修改或补充。
