头部智能门锁品牌“凯迪仕”发生了什么?创始人家族被冻结大量股权快讯
财经三剑客
2025-12-03 11:06
导读
近日,知名智能门锁品牌“凯迪仕”母公司深圳市凯迪仕智能科技股份有限公司(简称“深圳凯迪仕”)创始人苏志勇、苏祺云父子所持包括深圳凯迪仕在内的多家公司股份被地方法院冻结。
近日,知名智能门锁品牌“凯迪仕”母公司深圳市凯迪仕智能科技股份有限公司(简称“深圳凯迪仕”)创始人苏志勇、苏祺云父子所持包括深圳凯迪仕在内的多家公司股份被地方法院冻结。

天眼查显示,苏祺云所持深圳凯迪仕2117.4819万元人民币股权、深圳领凯企业管理合伙企业(有限合伙)7.31万元人民币出资额,本月被深圳市福田区人民法院冻结。


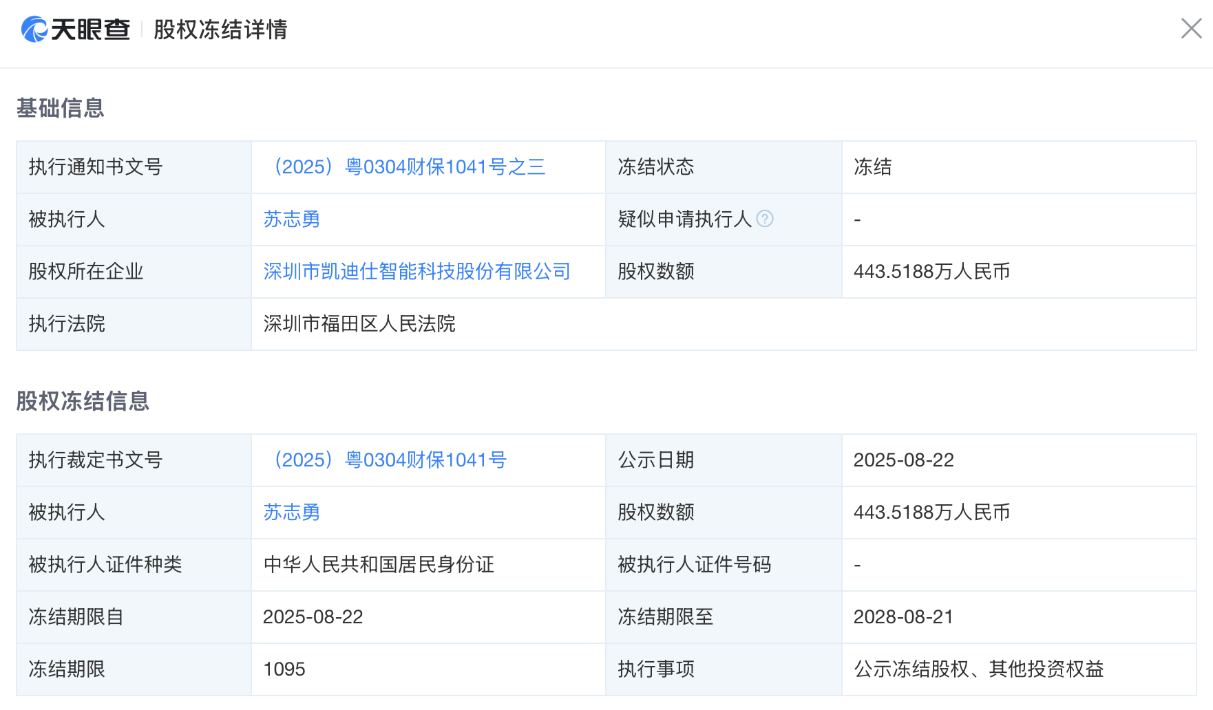
公开报道显示,苏祺云是凯迪仕品牌创始人苏志勇的儿子。苏志勇所持有的深圳凯迪仕443.5188万元人民币股权,也在今年11月被深圳福田区法院冻结。


深圳凯迪仕,自2013年成立以来,便以其高端智能锁产品和领先的科技实力,在市场上占据了一席之地。公司官网骄傲地宣称,凯迪仕是全球领先的高端智能锁品牌,累计获取711项专利,产品畅销美国、新加坡等36个国家,全球累计热销超过1000万台。
智能门锁
凯迪仕
1.TMT观察网遵循行业规范,任何转载的稿件都会明确标注作者和来源;
2.TMT观察网的原创文章,请转载时务必注明文章作者和"来源:TMT观察网",不尊重原创的行为TMT观察网或将追究责任;
3.作者投稿可能会经TMT观察网编辑修改或补充。
