偷税漏税被举报网红多家公司已注销 偷税漏税被举报网红控制20余家企业观点
观察君
2025-12-11 11:21
导读
据报道,12月10日,有网友反映某短视频平台主播“周周珍可爱625”(实名周珍)名下控股企业涉嫌逃税,已被国家税务总局佛山市税务局查处。根据网友提供的线索,被查处企业为“周周珍可爱625”名下的广东嘉星投资集团有限公司全资持股的广东嘉星文化传媒有限公司。
据报道,12月10日,有网友反映某短视频平台主播“周周珍可爱625”(实名周珍)名下控股企业涉嫌逃税,已被国家税务总局佛山市税务局查处。根据网友提供的线索,被查处企业为“周周珍可爱625”名下的广东嘉星投资集团有限公司全资持股的广东嘉星文化传媒有限公司。
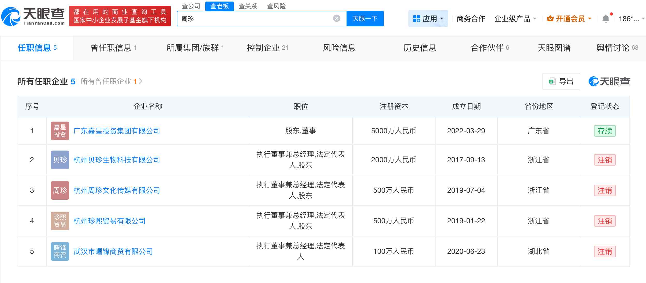
天眼查任职信息显示,周珍名下关联5家企业,其中4家已注销,仅广东嘉星投资集团有限公司为存续状态。控制企业信息显示,周珍控制20余家企业。


偷税漏税
1.TMT观察网遵循行业规范,任何转载的稿件都会明确标注作者和来源;
2.TMT观察网的原创文章,请转载时务必注明文章作者和"来源:TMT观察网",不尊重原创的行为TMT观察网或将追究责任;
3.作者投稿可能会经TMT观察网编辑修改或补充。
