合创汽车持广汽乘用车千万股权被冻结 合创汽车所持4116万股权被冻结观点
观察君
2024-08-16 17:47
导读
广汽乘用车(杭州)有限公司成立于2010年12月,由广汽乘用车有限公司、合创汽车科技有限公司分别持股51%、49%,其中合创汽车科技有限公司认缴出资额约20.73亿。
天眼查法律诉讼信息显示,近日,合创汽车科技有限公司新增7条股权冻结信息,股权被执行的企业均为广汽乘用车(杭州)有限公司,被冻结股权数额合计4116万人民币,冻结期限自2024年8月15日至2027年8月14日,执行法院为广州市南沙区人民法院。
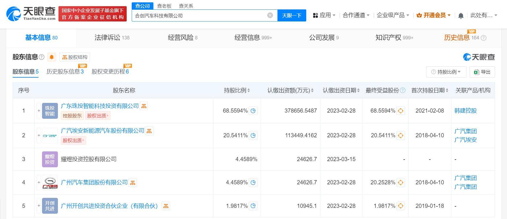
广汽乘用车(杭州)有限公司成立于2010年12月,由广汽乘用车有限公司、合创汽车科技有限公司分别持股51%、49%,其中合创汽车科技有限公司认缴出资额约20.73亿。合创汽车科技有限公司成立于2018年4月,法定代表人为李志红,注册资本约55.23亿人民币,由广东珠投智能科技投资有限公司、广汽埃安新能源汽车股份有限公司、广汽集团(601238)等共同持股。



合创汽车
冻结
1.TMT观察网遵循行业规范,任何转载的稿件都会明确标注作者和来源;
2.TMT观察网的原创文章,请转载时务必注明文章作者和"来源:TMT观察网",不尊重原创的行为TMT观察网或将追究责任;
3.作者投稿可能会经TMT观察网编辑修改或补充。
