中国恒大及恒大汽车等被执行20.5亿 中国恒大累计被执行超146亿观点
观察君
2025-12-08 16:35
导读
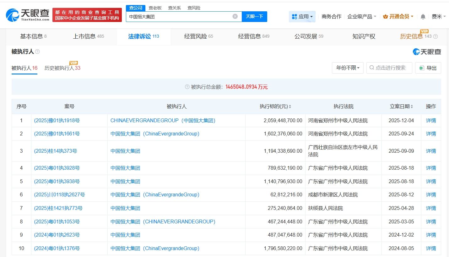
近日,中国恒大集团、恒大新能源汽车投资控股集团有限公司等新增一则被执行人信息,执行标的20.5亿余元,执行法院为河南省郑州市中级人民法院。
天眼查法律诉讼信息显示,近日,中国恒大集团、恒大新能源汽车投资控股集团有限公司等新增一则被执行人信息,执行标的20.5亿余元,执行法院为河南省郑州市中级人民法院。
风险信息显示,中国恒大集团现存10余条被执行人信息,被执行总金额超146亿元,此外还存在多条终本案件信息。


中国恒大
1.TMT观察网遵循行业规范,任何转载的稿件都会明确标注作者和来源;
2.TMT观察网的原创文章,请转载时务必注明文章作者和"来源:TMT观察网",不尊重原创的行为TMT观察网或将追究责任;
3.作者投稿可能会经TMT观察网编辑修改或补充。
