乐华未持有王一博商标 王一博合同26年10月到期观点
观察君
2026-03-21 18:54
导读
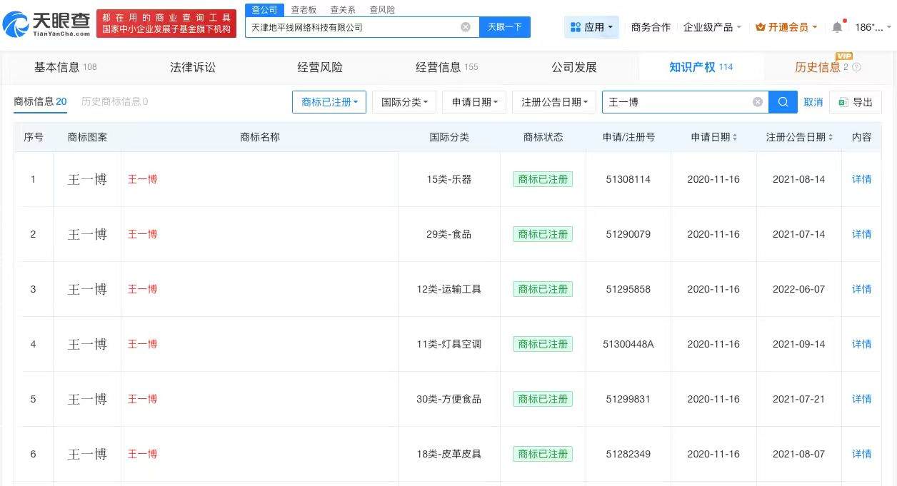
天眼查App显示,王一博名下天津地平线网络科技有限公司已申请注册“王一博”相关商标,国际分类涉及乐器、食品、运输工具等,当前商标状态多为已注册。而乐华娱乐关联北京乐华圆娱文化传播有限公司名下并无“王一博”相关商标。
天眼查App显示,王一博名下天津地平线网络科技有限公司已申请注册“王一博”相关商标,国际分类涉及乐器、食品、运输工具等,当前商标状态多为已注册。而乐华娱乐关联北京乐华圆娱文化传播有限公司名下并无“王一博”相关商标。
此外,乐华娱乐(02306.HK)招股书曾披露,王一博为乐华训练生计划毕业生,艺人管理合同初始期限为2014年10月至2022年10月,已续期四年至2026年10月止。

乐华
王一博
1.TMT观察网遵循行业规范,任何转载的稿件都会明确标注作者和来源;
2.TMT观察网的原创文章,请转载时务必注明文章作者和"来源:TMT观察网",不尊重原创的行为TMT观察网或将追究责任;
3.作者投稿可能会经TMT观察网编辑修改或补充。
