碧桂园地产所持7亿股权被冻结观点
观察君
2024-11-08 16:35
导读
碧桂园地产集团有限公司成立于2015年4月,法定代表人为简暖棠,注册资本约153亿人民币,由佛山市顺德区宙华投资咨询有限公司、深圳市碧桂科技发展有限公司共同持股。风险信息显示,该公司现存多条被执行人、股权冻结、限制消费令等信息。
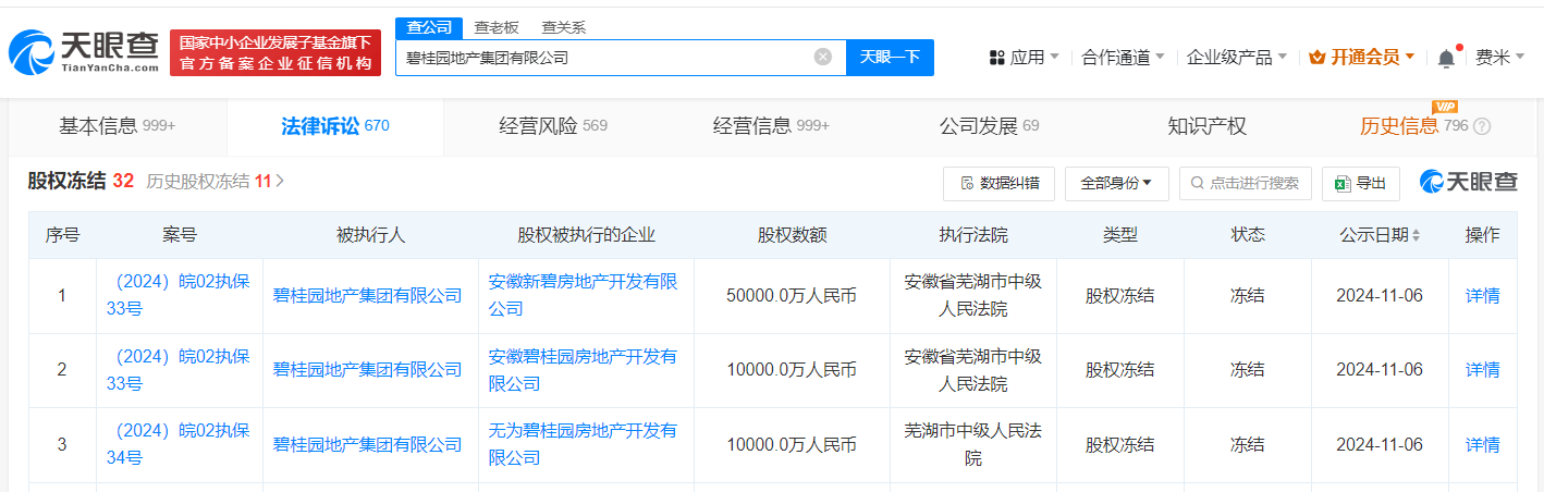
天眼查法律诉讼信息显示,近日,碧桂园地产集团有限公司新增3则股权冻结信息,股权被执行的企业分别为安徽新碧房地产开发有限公司、安徽碧桂园房地产开发有限公司、无为碧桂园房地产开发有限公司,冻结股权数额总计7亿元,冻结期限均自2024年11月6日至2027年11月5日,执行法院均为安徽省芜湖市中级人民法院。
碧桂园地产集团有限公司成立于2015年4月,法定代表人为简暖棠,注册资本约153亿人民币,由佛山市顺德区宙华投资咨询有限公司、深圳市碧桂科技发展有限公司共同持股。风险信息显示,该公司现存多条被执行人、股权冻结、限制消费令等信息。



碧桂园地产
7亿股权
1.TMT观察网遵循行业规范,任何转载的稿件都会明确标注作者和来源;
2.TMT观察网的原创文章,请转载时务必注明文章作者和"来源:TMT观察网",不尊重原创的行为TMT观察网或将追究责任;
3.作者投稿可能会经TMT观察网编辑修改或补充。
