B太名下关联2家公司 B太公司曾申请电子秤专利观点
观察君
2026-04-15 21:00
导读
据报道,4月13日,拥有近2600万粉丝的博主B太发布视频称,自己在大凉山进行帮扶中竟被骗。
据报道,4月13日,拥有近2600万粉丝的博主B太发布视频称,自己在大凉山进行帮扶中竟被骗。
天眼查App显示,陈佳军(B太)名下关联2家企业,分别为上海豆比文化传播有限公司、上海动次哒次文化传媒有限公司,目前两家公司均为存续状态。陈佳军在上述公司担任法定代表人、执行董事等职务。
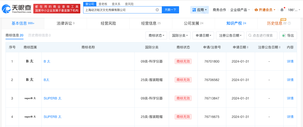
知识产权信息显示,上海动次哒次文化传媒有限公司已申请注册多个“B 太”“SUPER B太”商标,国际分类涉及科学仪器、服装鞋帽等,商标均为无效状态。值得注意的是,该公司曾公开“磁吸式便携电子秤”相关专利。



B太
1.TMT观察网遵循行业规范,任何转载的稿件都会明确标注作者和来源;
2.TMT观察网的原创文章,请转载时务必注明文章作者和"来源:TMT观察网",不尊重原创的行为TMT观察网或将追究责任;
3.作者投稿可能会经TMT观察网编辑修改或补充。
