何同学名下关联1家公司 老师好我叫何同学商标被判无效观点
观察君
2025-04-14 16:50
导读
据报道,4月11日,知名科技内容创作者老师好我叫何同学,因分享自己处理网约车司机索要好评的经历,引发争议。
据报道,4月11日,知名科技内容创作者老师好我叫何同学,因分享自己处理网约车司机索要好评的经历,引发争议。
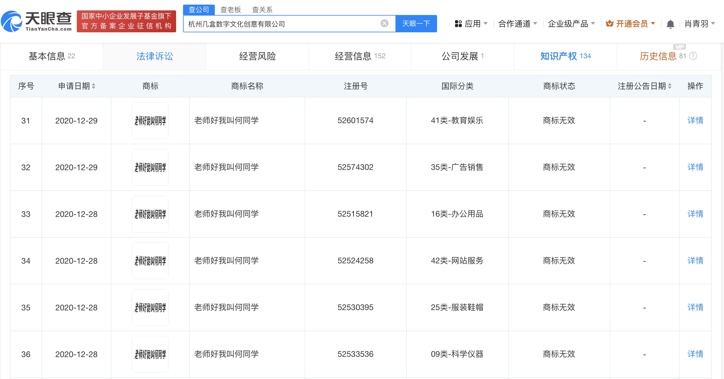
天眼查商业履历信息显示,何世杰(何同学)名下关联1家杭州几盒数字文化创意有限公司,该公司成立于2020年12月,注册资本50万人民币,经营范围包括广播电视节目制作经营、电子出版物制作、音像制品制作、演出经纪、网络文化经营、个人互联网直播服务等,何世杰在该公司担任法定代表人、执行董事兼总经理并全资持股。变更记录显示,2023年10月,该公司由杭州何同学文化传媒有限公司变更为现名。知识产权信息显示,该公司已成功注册多枚“何同学”商标。值得注意的是,该公司申请的多枚“老师好我叫何同学”商标均被驳回,目前处于无效状态。




何同学
1.TMT观察网遵循行业规范,任何转载的稿件都会明确标注作者和来源;
2.TMT观察网的原创文章,请转载时务必注明文章作者和"来源:TMT观察网",不尊重原创的行为TMT观察网或将追究责任;
3.作者投稿可能会经TMT观察网编辑修改或补充。
