阳光城集团等被执行30.37亿观点
观察君
2025-05-07 17:05
导读
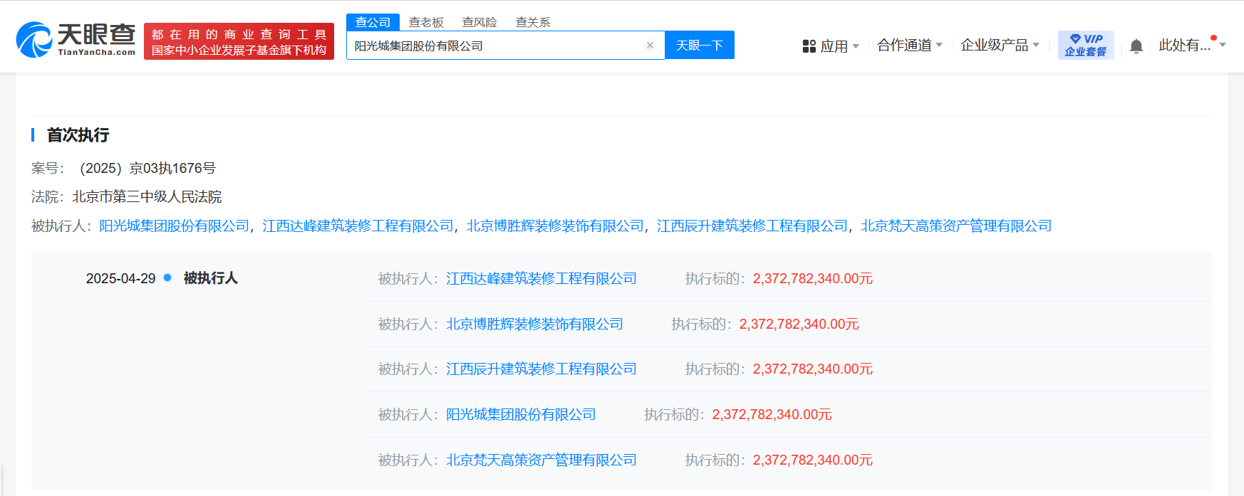
4月29日至30日,阳光城集团股份有限公司新增1条恢复执行及1条被执行人信息,执行标的合计30.37亿余元,被执行人还包括江西达峰建筑装修工程有限公司、北京博胜辉装修装饰有限公司等,执行法院为湖南省长沙市中级人民法院、北京市第三中级人民法院。
天眼查法律诉讼信息显示,4月29日至30日,阳光城集团股份有限公司新增1条恢复执行及1条被执行人信息,执行标的合计30.37亿余元,被执行人还包括江西达峰建筑装修工程有限公司、北京博胜辉装修装饰有限公司等,执行法院为湖南省长沙市中级人民法院、北京市第三中级人民法院。
天眼风险信息显示,阳光城集团股份有限公司现存150余条被执行人信息,被执行总金额163亿余元,此外,该公司还存在多条限制消费令、失信被执行人(老赖)及终本案件信息。


阳光城集团
1.TMT观察网遵循行业规范,任何转载的稿件都会明确标注作者和来源;
2.TMT观察网的原创文章,请转载时务必注明文章作者和"来源:TMT观察网",不尊重原创的行为TMT观察网或将追究责任;
3.作者投稿可能会经TMT观察网编辑修改或补充。
