优衣库在中国有上千家分支机构 优衣库商业版图盘点 优衣库创始人表态不使用新疆棉观点
观察君
2024-11-29 15:26
导读
据报道,近日,优衣库创始人柳井正近日在接受BBC采访时明确表示,优衣库不使用来自中国新疆地区的棉花。
据报道,近日,优衣库创始人柳井正近日在接受BBC采访时明确表示,优衣库不使用来自中国新疆地区的棉花。尽管中国是优衣库的重要市场,门店数量甚至超过了日本,但柳井正坚持这一策略不变。这一表态引发了广泛的讨论和关注。
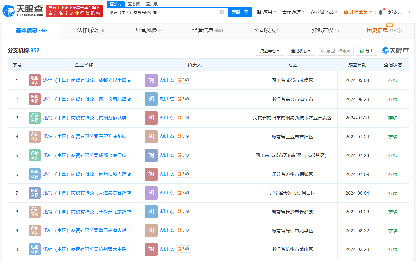
天眼查App显示,优衣库关联公司迅销(中国)商贸有限公司成立于2006年12月,法定代表人为冈崎 健(OKAZAKI TAKESHI),注册资本2000万美元,经营范围含服装服饰批发、服装服饰零售、鞋帽批发、鞋帽零售、箱包销售、针纺织品及原料销售、化妆品零售等,由日本株式会社迅销全资持股。分支机构信息显示,该公司拥有950余家分支机构,多数为存续或开业状态。
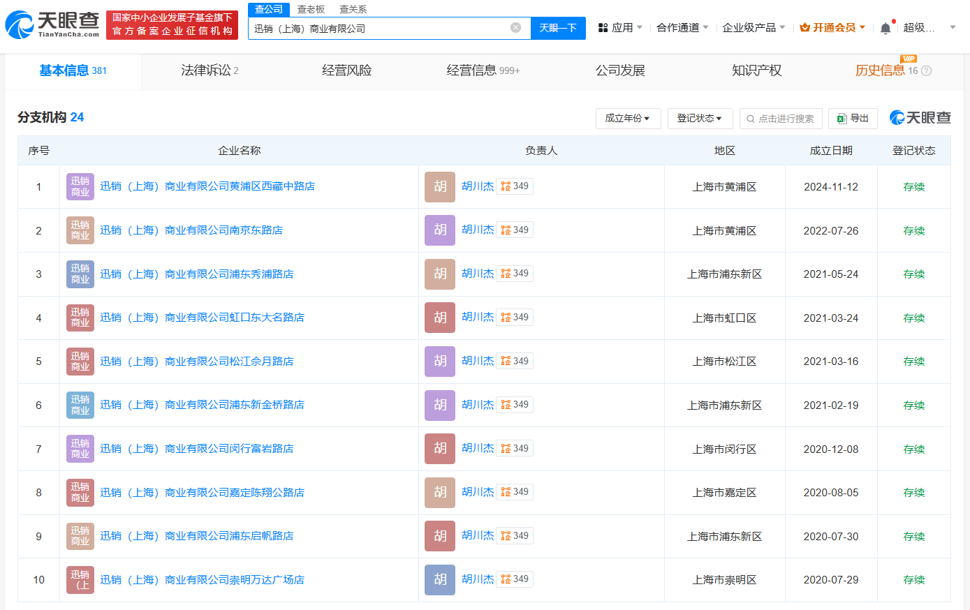
此外,优衣库关联迅销(上海)商业有限公司成立于2012年10月,注册资本3500万美元,拥有20余家分支机构;优衣库商贸有限公司成立于2010年3月,注册资本3000万美元,拥有50余家分支机构。值得注意的是,柳井正均在上述公司担任董事。





优衣库
中国
1.TMT观察网遵循行业规范,任何转载的稿件都会明确标注作者和来源;
2.TMT观察网的原创文章,请转载时务必注明文章作者和"来源:TMT观察网",不尊重原创的行为TMT观察网或将追究责任;
3.作者投稿可能会经TMT观察网编辑修改或补充。
