字节跳动申请“字节大脑”相关商标快报
TechWeb.com.cn
2021-07-21 16:42
导读
商标申请信息,字节大脑,北京字节跳动网络技术有限公司新增。
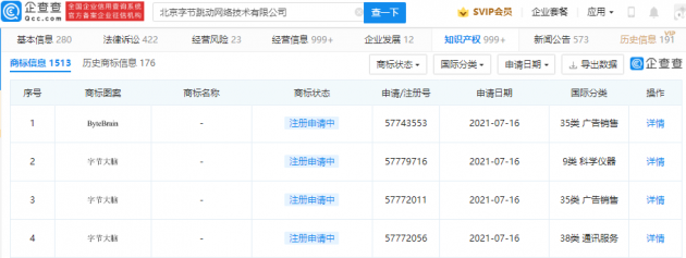
【TechWeb】企查查APP显示,近日,北京字节跳动网络技术有限公司新增“字节大脑”、“ByteBrain”商标申请信息,国际分类涉及广告销售、科学仪器、通讯服务,目前商标状态均为“注册申请中”。



商标
字节
申请
近日
北京
1.TMT观察网遵循行业规范,任何转载的稿件都会明确标注作者和来源;
2.TMT观察网的原创文章,请转载时务必注明文章作者和"来源:TMT观察网",不尊重原创的行为TMT观察网或将追究责任;
3.作者投稿可能会经TMT观察网编辑修改或补充。
