单依纯公司申请如何呢又能怎商标 单依纯公司申请纯姑姑商标观点
观察君
2025-07-31 10:04
导读
天眼查App显示,近日,单依纯经纪公司北京百沐娱乐文化传媒有限公司申请注册多枚“如何呢”“又能怎”“纯妹妹”“纯姑姑”“纯gugu”商标,国际分类涉及教育娱乐、广告销售、珠宝钟表等,当前商标状态均为等待实质审查。
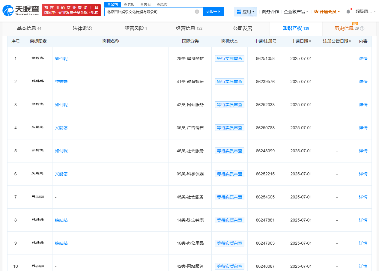
天眼查App显示,近日,单依纯经纪公司北京百沐娱乐文化传媒有限公司申请注册多枚“如何呢”“又能怎”“纯妹妹”“纯姑姑”“纯gugu”商标,国际分类涉及教育娱乐、广告销售、珠宝钟表等,当前商标状态均为等待实质审查。
近日,北京百沐娱乐文化传媒有限公司投资成立成都柏沐娱乐有限公司,后者法定代表人为赵凯,注册资本10万人民币。据悉,“如何呢”“又能怎”出自单依纯在《歌手2025》舞台上演唱的改编版《李白》,这句歌词凭借其洗脑的节奏爆火。《纯妹妹》则为单依纯在2024年推出的单曲。



单依纯
1.TMT观察网遵循行业规范,任何转载的稿件都会明确标注作者和来源;
2.TMT观察网的原创文章,请转载时务必注明文章作者和"来源:TMT观察网",不尊重原创的行为TMT观察网或将追究责任;
3.作者投稿可能会经TMT观察网编辑修改或补充。
