墨迹天气的违规,广告“窄门”的倒逼?互联网+
墨迹天气这样的工具类产品,墨迹天气还为58同城等企业提供广告服务,用户用墨迹天气也只是看天气罢了。

近日,工信部发布的2021年第2批存在问题的应用软件名单当中,墨迹天气榜上有名,理由是“超范围收集个人信息”。
值得一提的是,墨迹风云科技股份有限公司此前申请IPO时,未获证监会发审委审核通过,发审委对墨迹天气作出了四方面的提问,其中一条就是“通过自主收集及第三方途径获取用户数据是否合规”。
大数据时代,隐私问题逐渐得到越来越多人的关注和重视,对于过去各大App各种权限要求也在变得更加谨慎。而在近两年,有关部门对于这方面的查处也开始严格起来。从去年至今,我们也看到不少企业因为信息收集问题被点名要求整改。
大基调已经如此,墨迹天气此番违规到底是一时失察还是顶风作案?这一点外人不得而知。不过换个维度来看,用户数据信息对于墨迹天气这一类的工具类产品而言或许也有着不同寻常的意义。透过墨迹天气,我们或许能更理解工具产品在眼下这个时代的囚徒困境。
数据价值凸显:不精准的广告投放都是耍流氓
今天,工业化高速发展,生产相对过剩,我们发现远的品牌长线公关思维难解品牌的转化“近渴”。但广告不是瞎投的,在前几年,只要有了流量,似乎就有了广告投放价值。可随着越来越多的企业缴纳“智商税”,发现带不来转化的无效流量太多,企业对流量故事已经不再感冒。
去年,从CTR的1-6月的监测数据来看,自 1月22日武汉封城开始,广告业就出现了非常大幅度的下滑。随着疫情的逐步稳定,市场也在慢慢出现转机,但整体上依然呈现负增长。

广告花费降低,并不是说企业没有广告需求了,而是更想把钱花的更高效,不想在给别人当“送财童子”。于是,智能营销作为转化效率更高的方案被更多人所认可。
对于许多工具类产品而言,变现一直都是一个老大难问题,广告一直都是它们的“命根子”,墨迹天气就是如此。如今,广告投放越来越强调精准化的今天,缺乏足够精准数据的工具类产品或许不可避免的面临“被挤出”的风险。
只说流量规模,墨迹天气是有的。但墨迹天气的变现手段相对单一,基本上绝大部分收入来源于互联网广告服务。
此前谋求上市时,墨迹天气的招股书显示,公司2017年1月至9月期间主要来自品牌广告、效果广告和硬件销售,其中品牌广告和效果广告占总收入比例分别为55.02%和43.84%,二者合计达98.86%。
然而,大数据时代营销更强调用户数据的全面性和准确性,平台要通过这些数据给每一位用户贴上相应的标签,然后在营销时根据不同的标签确定信息该推送给什么类型的用户。信息流广告的盛行就是如此,它可以通过不同类型的内容进行用户标签化。
墨迹天气这样的工具类产品,其用户数据画像似乎有些过于少了点,用户用墨迹天气也只是看天气罢了,用完即走,甚至有的用户只是看天气,连注册都懒得弄。面对这样的平台用户群体,墨迹天气又打算如何在广告推送上实现精准呢?
工具类产品使用场景的天花板非常明显,拓展空间有限,可替代性也极强。要想进一步发展后期势必需要做好“去工具化”这件事。事实上,墨迹天气这样的工具类产品其实很早也都意识到了这一点,工具产品内容化以一段时间内也成为行业比较热的一个话题,但最终似乎鲜有成功者。关于原因,主要集中于以下两个方面:
*内因层面:内容化与工具化的属性相克
一方面,对于工具类产品而言,顾名思义,就是一个工具,工具的目的很明确,就是为了方便用户,提升效率;另一方面,工具类产品的去工具化过程其实就是内容化的过程,不可避免地会降低办事效率,与工具型产品“效率至上”的原则相违背。
*外因层面:消费互联网马太效应凸显
这两年一直都有一个论调,那就是消费互联网时代已经过去,对于2C的入口而言似乎也已经大局已定。社交平台的微信、QQ,电商方面有淘宝、京东、拼多多,信息流有百度、今日头条,本地生活有美团、饿了么,娱乐视频有抖快、优爱腾。
几乎各个入口都有相应的巨头把持,墨迹天气闷无论想切哪一块内容似乎都很难有理由劝说用户去迁移。相反,其它巨头可以携流量优势降为攻击一些工具插件。不同企业品牌核心功能标签早价值层面存在三六九等,与外卖、短视频、电商、社交等核心功能相比天气功能其实算不上太重要的稀缺功能。
从某种程度上讲,同样是工具,天气功能在“社交币”层面还不如美图,因为围绕天气产生不了什么能够吸引人讨论的话题和内容。
此外,多数工具型产品的运营人员并没有社区冷启动的经验,对于工具型产品而言,运营承担的角色更多在新用户引入方面,用户进入产品后产生的是人机交互,而非人人交互。许多工具产品的内容化,最后的结果只是【具备了媒介属性,而不具有媒体精髓】,缺乏足够的内容社区根基。百家号、头条号们靠多少创作补贴才熬出头的,工具产品要想搭建优质内容社区其实不容易。
由此可见,墨迹天气内容化看起来很难实现,也就是说,墨迹天气很难掌握用户更多的画像数据。或许,向用户询问获取更多权限会是唯一获得用户数据的一个方案?这难道就是墨迹天气“超范围收集个人信息”的原因吗?
当然,作为外人不宜妄下定论,只不过从旁观者视角来看可能会让人产生这样一种猜测。
事实上,从一些细节层面其实也能看出墨迹天气的广告焦虑可能很早就有了。
据《新京报》报道,此前墨迹天气谋求上市时,发审委指出墨迹天气所运营的网站和墨迹天气APP存在未经其许可违规发布互联网新闻信息,被责令限期整改的情形。此外,墨迹天气还为58同城等企业提供广告服务,其中部分也涉及用户地理位置数据,可能涉嫌侵犯用户数据隐私。
2019年7月,中央网信办、工业和信息化部等四部门成立的APP专项治理工作组,在《关于督促40款存在收集使用个人信息问题的APP运营者尽快整改的通知》中提及墨迹天气。
2019年12月,墨迹天气曾因广告标题不正当而遭到北京海淀区市场监督管理局处罚,共计罚款9万元。
广告违规,收集个人信息违规,这些之前就出现的问题或许也反映墨迹天气的广告焦虑可能很早就存在了。
然而,如果墨迹天气真的是广告焦虑下铤而走险“超范围收集个人信息”其实不是那么明智的选择。
个人隐私层面已经“群体觉醒”,不再是毫不在意的点击“同意”。未来监管也只会越来越严,违规成本可能也水涨船高。对于墨迹天气们而言,寻找新服务点才是平台发展的长远大计。
去工具化的“西西弗斯陷阱”:2C大门关闭,2B门槛太高?
2C消费互联网层面内容化越来越难,如今,墨迹天气重心似乎由2C转向了2B,墨迹天气旗下墨迹赤必在B端的声音愈发响亮,在很多人眼里,这似乎是墨迹天气谋求上市的解决方案,亦或者是“去工具化”的有力途径。
从理论上来看,国内外创业江湖,似乎一直都不乏对气象经济的挖掘。
国外方面,美国、日本的气象经济发展很多年了。之前有报道称美国已经拥有2000多家私营商业气象服务公司,主要是为企业级客户提供个性化的气象服务,从而趋利避害,提高经营效益。
依照时间机器理论参考发达国家气象经济进程,墨迹天气转战2B领域似乎是个不错的选择。然而仔细深究一番我们会发现,这条路要想走好似乎并不是件容易的事。
企业级用户在采购过程中会更加谨慎理性,而且大多数2B的产品定位、用户需求都非常清晰。看似更加聚焦,但这里面却牵扯到了一个专业性问题:不了解行业的产业链和价值链,就做不出接地气的解决方案。
由2C到2B,墨迹天气会不会出现“水土不服”?这一点似乎仍存在一定的不确定性。
从目前行业的实用性来看,据了解墨迹天气方面很早就与外卖平台展开合作,只不过从一般旁观者的视角下,借助墨迹天气做好准备,雨雪天送餐就不会有困难?用户就不会给差评了?气象服务给人的感觉似乎仍是一食之无味弃之有肉的工具。
此外,和天气有关的2B领域,很多人第一反应就会想到农业,
农业在很多人眼中绝对是靠天吃饭的代表,但是智慧农业的概念已经喊了许久了,渗透率却也是最低的。有数据显示,在三产中,数字经济在农业中占比7.30%,在工业和服务领域,分别占比18.30%和35.90%。原因在于传感器、物联网设备,投入大,维护成本高,而农业收益以及附加值相对较低。
那么墨迹天气能做好吗?
在互联网江湖(VIPIT1)团队看来,在企业级赛道发展初期,任何具备一项产业特质的企业就等于拥有布局的“入场券”,但“入场券”不代表“毕业证”,因为它所涉及的绝不只是一个维度的问题。而且前面说了,智慧农业是个烧钱的领域,依靠农业或许能提高想象力,但恐怕很难在短时间带来经济效益。
此外,在2B赛道,互联网企业也已经开展相应的竞赛。农业层面,农产品电商火了,阿里、腾讯、百度、拼多多、京东都在进军“最初一公里”的智慧农业。其它方面,阿里旗下高德地图在暴雨降临时,也可以为车主提供细致到每个涵洞水深情况的导航服务。
而且2B赛道往往偏技术赋能一些,这些技术含量较高的领域本身行业门槛就比较高,具备高投入、高风险、高收益三大特点,这是互联网巨头们的优势。产业投资周期长、流程复杂,布局晚容易落伍掉;如果布局早,却没能得到市场认可,可能会带来更多的资源浪费。
目前看来,气象企业服务市场给人的感觉依旧尚不明朗,指望2B业务成长成为“第二盈利曲线”在短时间内或许很难做到。更要紧的是,2B技术领域的投资,需要大量真金白银的投入。对于广告价值看起来也被“挤出”的墨迹天气而言,是否有足够的自己能力去做技术研发呢?
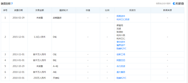
据天眼查APP显示,墨迹天气的上一轮融资停留在2016年2月,再加上IPO难度相对较大,对于墨迹天气而言,资金问题在旁观者看来可能会是接下来2B业务发展的一个问题。

神话中,西西弗斯要把巨石推上山顶。可因为太重每次未到山顶就终止下来,只好不断重复、永无休止。
而无论2C还是2B,墨迹天气过去一段时间的“去工具化”征程,就好像是一“西西弗斯陷阱”,是一不断重复永无休止的过程。
未来,能否找到冲向山顶的路?时间终会告诉我们答案。
科技自媒体刘志刚,订阅号:互联网江湖。微信:13124791216,转载保留作者版权信息,违者必究。
1.TMT观察网遵循行业规范,任何转载的稿件都会明确标注作者和来源;
2.TMT观察网的原创文章,请转载时务必注明文章作者和"来源:TMT观察网",不尊重原创的行为TMT观察网或将追究责任;
3.作者投稿可能会经TMT观察网编辑修改或补充。
