郭艾伦名下企业已注销 郭艾伦企业已注册篮球训练营商标观点
观察君
2026-04-07 17:15
导读
天眼查工商信息显示,上海烁光体育文化发展事务所成立于2017年4月,出资额10万人民币,经营范围含体育赛事策划、文化艺术交流策划、体育咨询等,为郭艾伦个人独资企业。目前该事务所已注销。
天眼查工商信息显示,上海烁光体育文化发展事务所成立于2017年4月,出资额10万人民币,经营范围含体育赛事策划、文化艺术交流策划、体育咨询等,为郭艾伦个人独资企业。目前该事务所已注销。
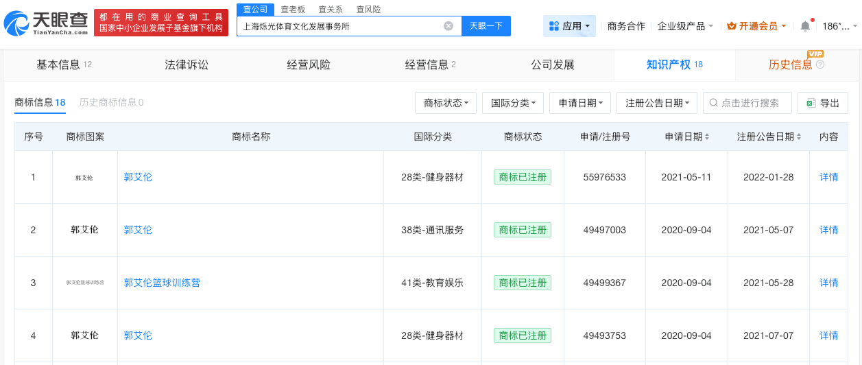
知识产权信息显示,该企业已注册多枚“郭艾伦”“郭艾伦篮球训练营”商标,国际分类涉及健身器材、通讯服务、教育娱乐等,当前商标状态多为已注册。


郭艾伦
1.TMT观察网遵循行业规范,任何转载的稿件都会明确标注作者和来源;
2.TMT观察网的原创文章,请转载时务必注明文章作者和"来源:TMT观察网",不尊重原创的行为TMT观察网或将追究责任;
3.作者投稿可能会经TMT观察网编辑修改或补充。
