高德申请注册低空高德、空中高德商标观点
观察君
2025-07-23 15:55
导读
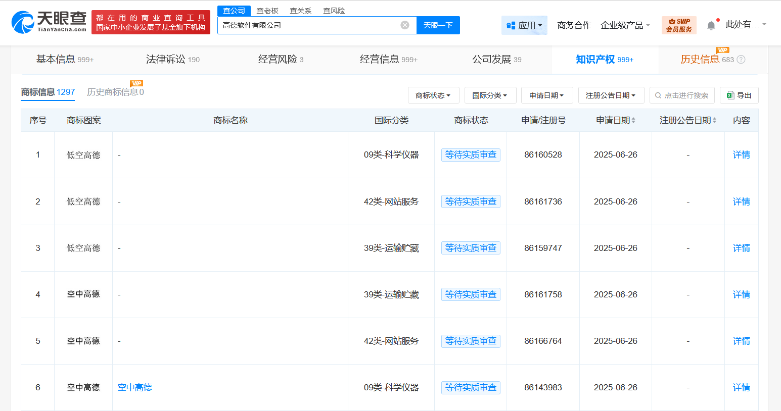
天眼查知识产权信息显示,近日,高德软件有限公司申请注册“低空高德”“空中高德”商标,国际分类为科学仪器、网站服务、运输贮藏,当前商标状态均为等待实质审查。
天眼查知识产权信息显示,近日,高德软件有限公司申请注册“低空高德”“空中高德”商标,国际分类为科学仪器、网站服务、运输贮藏,当前商标状态均为等待实质审查。
高德软件有限公司成立于2001年9月,法定代表人为董振宁,注册资本约6.42亿人民币,经营范围含技术进出口、进出口代理、计算机软硬件及辅助设备批发、计算机软硬件及辅助设备零售、互联网信息服务等,由杭州宝轩投资管理有限公司全资持股。



高德
1.TMT观察网遵循行业规范,任何转载的稿件都会明确标注作者和来源;
2.TMT观察网的原创文章,请转载时务必注明文章作者和"来源:TMT观察网",不尊重原创的行为TMT观察网或将追究责任;
3.作者投稿可能会经TMT观察网编辑修改或补充。
