宁德时代人形机器人新专利获授权观点
观察君
2026-04-02 02:43
导读
天眼查知识产权信息显示,近日,宁德时代未来能源(上海)研究院有限公司、宁德时代新能源科技股份有限公司申请的“关节结构和机器人”专利获授权。
天眼查知识产权信息显示,近日,宁德时代未来能源(上海)研究院有限公司、宁德时代新能源科技股份有限公司申请的“关节结构和机器人”专利获授权。
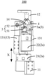
摘要显示,本申请涉及机器人技术领域,其中,关节结构包括关节组件、第一驱动件及第二驱动件,第一驱动件设置于基础部,第一驱动件具有朝向第一方向设置的第一驱动转轴,第一驱动转轴驱动连接连接部;第二驱动件设置于连接部,第二驱动件具有朝向第一方向设置的第二驱动转轴,第二驱动转轴驱动连接活动部;第一驱动件与第二驱动件在第一方向至少部分重合设置。本申请提供的技术方案,将该关节结构应用到人形机器人的颈部,可以改善现有人形机器人的颈部关节结构较为粗大的问题。


宁德时代
人形机器人
1.TMT观察网遵循行业规范,任何转载的稿件都会明确标注作者和来源;
2.TMT观察网的原创文章,请转载时务必注明文章作者和"来源:TMT观察网",不尊重原创的行为TMT观察网或将追究责任;
3.作者投稿可能会经TMT观察网编辑修改或补充。
