揭秘被上海康城小区炒掉的物业公司 原上海康城物业公司涉多个合同纠纷观点
观察君
2024-09-02 15:15
导读
据悉,该小区的物业公司是深圳碧桂园盛孚物业服务有限公司上海分公司。
据媒体报道,近日,上海康城第五届业主委员会在微信公众号上发布公告称,经小区业主投票表决,决定不再续聘在管物业服务企业。据悉,该小区的物业公司是深圳碧桂园盛孚物业服务有限公司上海分公司。
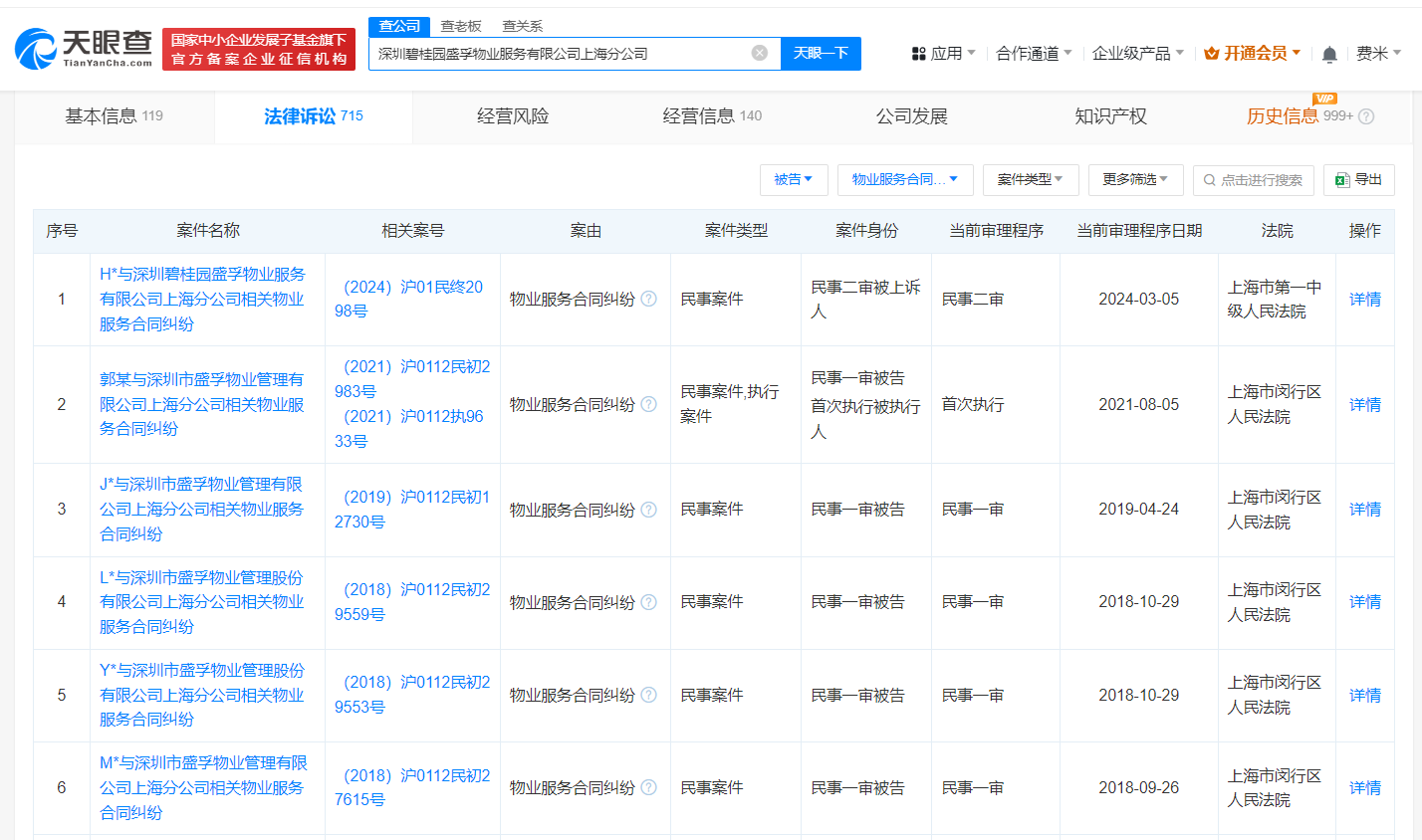
天眼查App显示,深圳碧桂园盛孚物业服务有限公司上海分公司成立于2005年10月,负责人为石映辉,经营范围包括物业管理、房地产经纪、房地产咨询等。风险信息显示,该分公司涉及多个法律诉讼案件,案由多为物业服务合同纠纷,案件身份多为原告。其总公司深圳碧桂园盛孚物业服务有限公司成立于1995年8月,法定代表人为许运力,注册资本1500万人民币,由碧桂园生活服务集团股份有限公司全资持股。



上海
康城小区
1.TMT观察网遵循行业规范,任何转载的稿件都会明确标注作者和来源;
2.TMT观察网的原创文章,请转载时务必注明文章作者和"来源:TMT观察网",不尊重原创的行为TMT观察网或将追究责任;
3.作者投稿可能会经TMT观察网编辑修改或补充。
