苹果计划2026年推出小折叠iPhone:屏幕供应商依旧是三星快讯
快科技
2025-01-09 09:55
导读
苹果的小折叠iPhone将采用与三星Galaxy Z Flip类似的翻盖设计,此次推出的小折叠iPhone或将搭载苹果自研的最新A系列芯片,苹果计划在2025年第三季度推出旗下首款小折叠iPhone。
1月8日消息,苹果计划在2025年第三季度推出旗下首款小折叠iPhone,引发了业内和消费者的广泛关注。
与此前传闻不同,苹果的小折叠iPhone将采用与三星Galaxy Z Flip类似的翻盖设计,而三星也将成为这款折叠屏手机的主要屏幕供应商。
消息指出,苹果正在与三星合作,使用三星提供的柔性OLED屏幕技术,这将确保小折叠iPhone拥有出色的显示效果和耐用性。
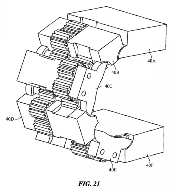
同时,苹果可能在铰链设计上采用新的专利技术,以解决目前折叠屏手机普遍存在的折痕问题,从而提升用户体验。
此次推出的小折叠iPhone或将搭载苹果自研的最新A系列芯片,支持全新的iOS折叠屏优化系统,为用户带来更流畅的交互体验。
此外,有分析师预测,小折叠iPhone可能定价在高端市场,瞄准喜欢时尚设计和高科技产品的消费者。(无痕)
折叠
iPhone
苹果
设计
三星
1.TMT观察网遵循行业规范,任何转载的稿件都会明确标注作者和来源;
2.TMT观察网的原创文章,请转载时务必注明文章作者和"来源:TMT观察网",不尊重原创的行为TMT观察网或将追究责任;
3.作者投稿可能会经TMT观察网编辑修改或补充。
