那英老公名下一公司多年经营异常 那英老公名下两家公司已被限消观点
观察君
2025-09-10 20:06
导读
据报道,今日,有账号发布视频爆料那英老公与美女亲密依偎,并在饭后一起坐车将该女子带回那英别墅。此前,该账号曾预告“国民级女星后院起火,老公出轨”。
据报道,今日,有账号发布视频爆料那英老公与美女亲密依偎,并在饭后一起坐车将该女子带回那英别墅。此前,该账号曾预告“国民级女星后院起火,老公出轨”。
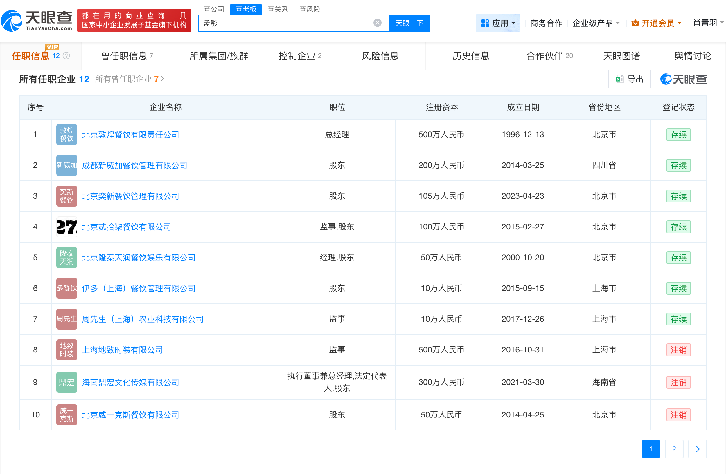
天眼查任职信息显示,孟彤名下共关联12家企业,5家为注销状态。其中北京隆泰天润餐饮娱乐有限公司、成都新威加餐饮管理有限公司现存多条限制消费令。此外,成都新威加餐饮管理有限公司已多次被列入经营异常名录,并在2023年因“被列入经营异常名录届满3年仍未履行相关义务的”,被列入严重违法失信企业名单。





那英
老公
1.TMT观察网遵循行业规范,任何转载的稿件都会明确标注作者和来源;
2.TMT观察网的原创文章,请转载时务必注明文章作者和"来源:TMT观察网",不尊重原创的行为TMT观察网或将追究责任;
3.作者投稿可能会经TMT观察网编辑修改或补充。
