小米申请注册YU7商标 小米为新车YU7申请商标观点
观察君
2024-12-25 14:26
导读
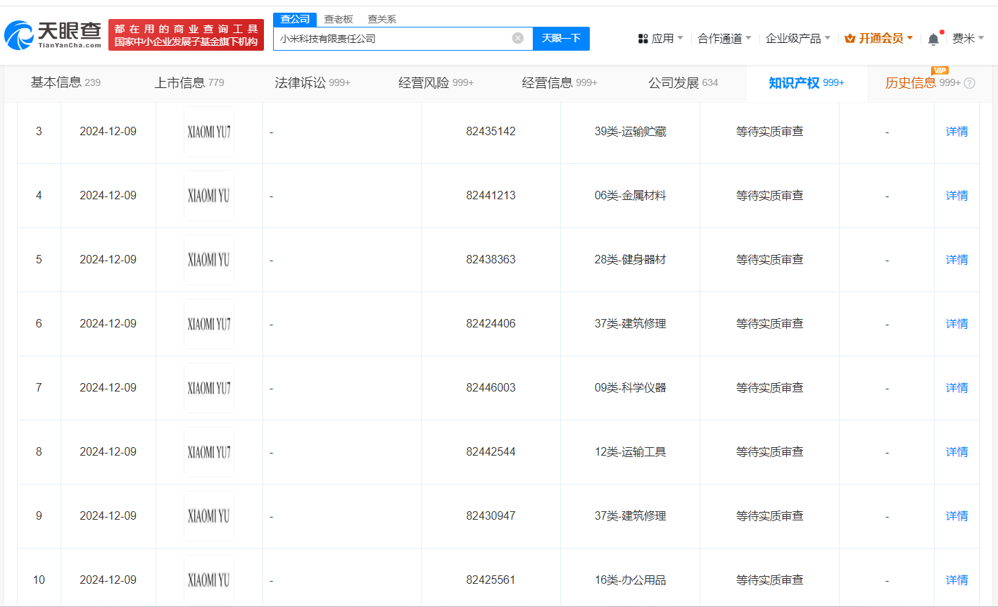
近日,小米科技有限责任公司申请注册多枚“XIAOMI YU7”“XIAOMI YU”商标,国际分类包含运输贮藏、运输工具、科学仪器等,当前商标状态均为等待实质审查。
天眼查知识产权信息显示,近日,小米科技有限责任公司申请注册多枚“XIAOMI YU7”“XIAOMI YU”商标,国际分类包含运输贮藏、运输工具、科学仪器等,当前商标状态均为等待实质审查。
据媒体报道,12月9日晚间,小米汽车官方微博发布动态显示,小米汽车第二款车型为SUV,定名为“小米YU7”,预计2025年6-7月正式上市。



小米
YU7
1.TMT观察网遵循行业规范,任何转载的稿件都会明确标注作者和来源;
2.TMT观察网的原创文章,请转载时务必注明文章作者和"来源:TMT观察网",不尊重原创的行为TMT观察网或将追究责任;
3.作者投稿可能会经TMT观察网编辑修改或补充。
