恒大地产等被执行16.7亿观点
观察君
2025-08-06 13:53
导读
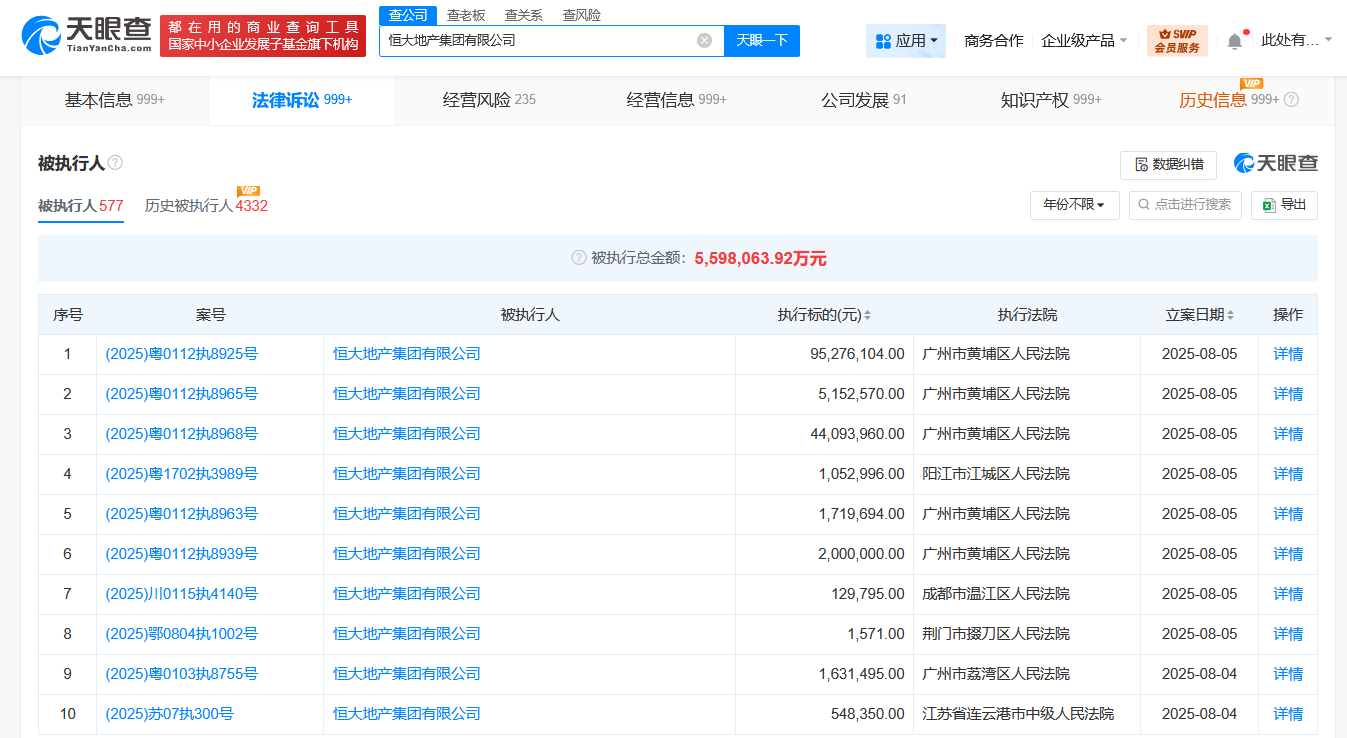
天眼查App显示,8月4日至8月5日,恒大地产集团有限公司新增16条被执行人信息,执行标的合计16.7亿余元,涉及票据纠纷、合同纠纷等案件,部分案件被执行人还包括衡水恒德房地产开发有限公司、广州恒大材料设备有限公司等,执行法院为广州市黄埔区人民法院、河北省衡水市中级人民法院等。
天眼查App显示,8月4日至8月5日,恒大地产集团有限公司新增16条被执行人信息,执行标的合计16.7亿余元,涉及票据纠纷、合同纠纷等案件,部分案件被执行人还包括衡水恒德房地产开发有限公司、广州恒大材料设备有限公司等,执行法院为广州市黄埔区人民法院、河北省衡水市中级人民法院等。
风险信息显示,恒大地产集团有限公司现存570余条被执行人信息,被执行总金额超559亿元,此外,该公司还存在多条限制消费令、失信被执行人(老赖)及终本案件信息。



恒大地产
1.TMT观察网遵循行业规范,任何转载的稿件都会明确标注作者和来源;
2.TMT观察网的原创文章,请转载时务必注明文章作者和"来源:TMT观察网",不尊重原创的行为TMT观察网或将追究责任;
3.作者投稿可能会经TMT观察网编辑修改或补充。
