奥园集团等被强制执行6.4亿观点
观察君
2024-10-21 18:09
导读
天眼查法律诉讼信息显示,近日,奥园集团有限公司、广州奥晖置业有限公司、广州东龙投资有限公司新增1条被执行人信息,执行标的6.4亿余元,涉及金融借款合同纠纷案件,执行法院为广东省广州市中级人民法院。
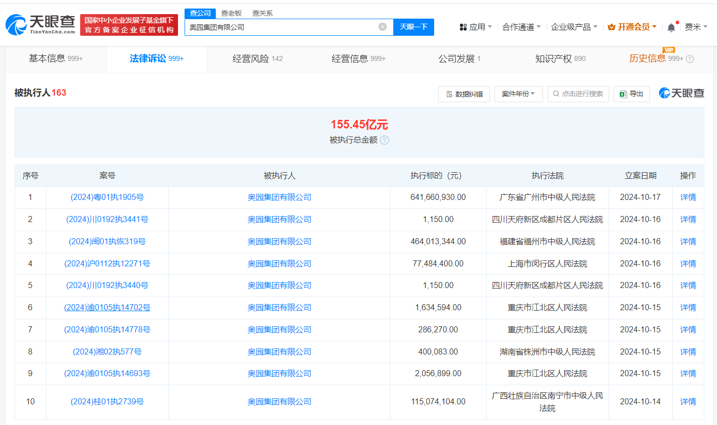
天眼查法律诉讼信息显示,近日,奥园集团有限公司、广州奥晖置业有限公司、广州东龙投资有限公司新增1条被执行人信息,执行标的6.4亿余元,涉及金融借款合同纠纷案件,执行法院为广东省广州市中级人民法院。
奥园集团有限公司成立于1998年5月,法定代表人为林显团,注册资本61.1亿人民币,经营范围含房地产咨询、房地产经纪、物业管理、互联网销售等,由广东奥园置业有限公司、ADD LION PROFITS LIMITED共同持股。风险信息显示,该公司现存160余条被执行人信息,被执行总金额超155亿元。此外,该公司还存在多条限制消费令、失信被执行人(老赖)及终本案件信息。



奥园集团
6.4亿
1.TMT观察网遵循行业规范,任何转载的稿件都会明确标注作者和来源;
2.TMT观察网的原创文章,请转载时务必注明文章作者和"来源:TMT观察网",不尊重原创的行为TMT观察网或将追究责任;
3.作者投稿可能会经TMT观察网编辑修改或补充。
