碧桂园地产集团等被执行4.4亿观点
观察君
2025-03-18 15:45
导读
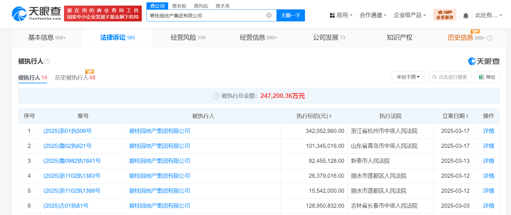
天眼查法律诉讼信息显示,3月17日,碧桂园地产集团有限公司新增2条被执行人信息,执行标的合计4.43亿余元,被执行人还包括浙江碧桂园管理咨询有限公司、青岛悦发置业有限公司,执行法院为浙江省杭州市中级人民法院、山东省青岛市中级人民法院。
天眼查法律诉讼信息显示,3月17日,碧桂园地产集团有限公司新增2条被执行人信息,执行标的合计4.43亿余元,被执行人还包括浙江碧桂园管理咨询有限公司、青岛悦发置业有限公司,执行法院为浙江省杭州市中级人民法院、山东省青岛市中级人民法院。
天眼风险信息显示,碧桂园地产集团有限公司现存10余条被执行人信息,被执行总金额超24亿元。此外,该公司还存在多条限制消费令、失信被执行人(老赖)及终本案件信息。


碧桂园地产集团
1.TMT观察网遵循行业规范,任何转载的稿件都会明确标注作者和来源;
2.TMT观察网的原创文章,请转载时务必注明文章作者和"来源:TMT观察网",不尊重原创的行为TMT观察网或将追究责任;
3.作者投稿可能会经TMT观察网编辑修改或补充。
