vivo申请PhoneGPT商标 vivo申请iQOO PhoneGPT商标观点
观察君
2024-11-12 14:25
导读
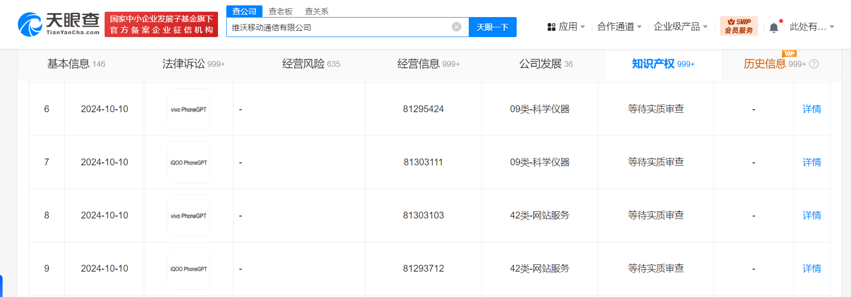
天眼查知识产权信息显示,近日,维沃移动通信有限公司申请注册多枚“vivo PhoneGPT”“iQOO PhoneGPT”商标,国际分类涉及科学仪器、网站服务,当前商标状态均为等待实质审查。
天眼查知识产权信息显示,近日,维沃移动通信有限公司申请注册多枚“vivo PhoneGPT”“iQOO PhoneGPT”商标,国际分类涉及科学仪器、网站服务,当前商标状态均为等待实质审查。
据媒体报道,10月10日,vivo在2024开发者大会上官宣全新AI战略——“蓝心智能”,并首次提出了“手机智能体(Phone GPT)”的概念。


vivo
PhoneGPT商标
1.TMT观察网遵循行业规范,任何转载的稿件都会明确标注作者和来源;
2.TMT观察网的原创文章,请转载时务必注明文章作者和"来源:TMT观察网",不尊重原创的行为TMT观察网或将追究责任;
3.作者投稿可能会经TMT观察网编辑修改或补充。
