雅居乐集团等被强制执行12.3亿观点
观察君
2024-12-18 11:35
导读
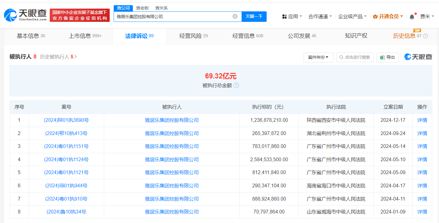
12月17日,雅居乐集团控股有限公司、陕西云圣置业有限公司新增一则被执行人信息,执行标的12.3亿余元,执行法院为陕西省西安市中级人民法院。
天眼查法律诉讼信息显示,12月17日,雅居乐集团控股有限公司、陕西云圣置业有限公司新增一则被执行人信息,执行标的12.3亿余元,执行法院为陕西省西安市中级人民法院。
雅居乐集团控股有限公司于2005年10月注册于开曼群岛,2005年12月在港股上市。天眼风险信息显示,该公司现存8条被执行人信息,被执行总金额超69亿元。



雅居乐集团
1.TMT观察网遵循行业规范,任何转载的稿件都会明确标注作者和来源;
2.TMT观察网的原创文章,请转载时务必注明文章作者和"来源:TMT观察网",不尊重原创的行为TMT观察网或将追究责任;
3.作者投稿可能会经TMT观察网编辑修改或补充。
