B站申请注册B谷商标观点
观察君
2025-03-08 00:57
导读
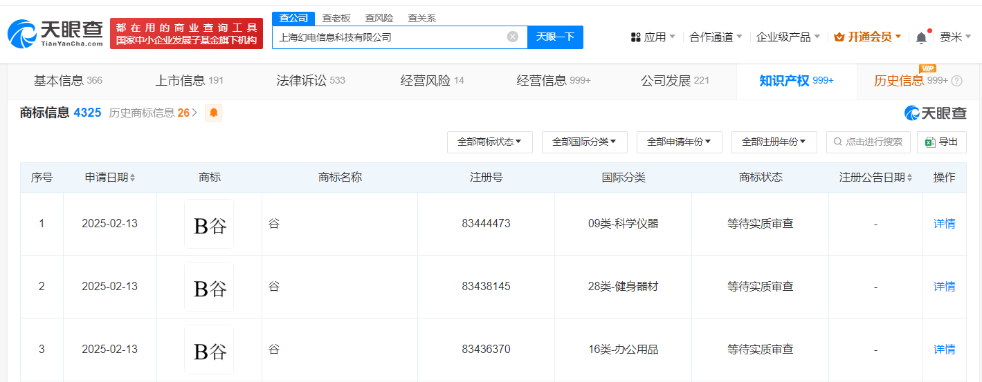
天眼查财产线索信息显示,近日,B站关联公司上海幻电信息科技有限公司申请注册多枚“B谷”商标,国际分类为办公用品、科学仪器、健身器材,当前商标状态均为等待实质审查。
天眼查财产线索信息显示,近日,B站关联公司上海幻电信息科技有限公司申请注册多枚“B谷”商标,国际分类为办公用品、科学仪器、健身器材,当前商标状态均为等待实质审查。
该公司成立于2013年5月,法定代表人为徐逸,注册资本约1099万人民币,经营范围含广告发布、企业形象策划、动漫游戏开发、专业设计服务、票务代理服务、计算机软硬件及辅助设备零售等,由陈睿、徐逸、李旎共同持股。




B站
1.TMT观察网遵循行业规范,任何转载的稿件都会明确标注作者和来源;
2.TMT观察网的原创文章,请转载时务必注明文章作者和"来源:TMT观察网",不尊重原创的行为TMT观察网或将追究责任;
3.作者投稿可能会经TMT观察网编辑修改或补充。
