丝芭仍持有李艺彤姓名商标 丝芭已注册多枚李艺彤姓名商标观点
观察君
2025-12-23 10:05
导读
12月23日0点,李艺彤在30岁生日当天官宣离开丝芭,丝芭转发该消息,并首次透露其新签约公司为北京海西传媒。
12月23日0点,李艺彤在30岁生日当天官宣离开丝芭,丝芭转发该消息,并首次透露其新签约公司为北京海西传媒。
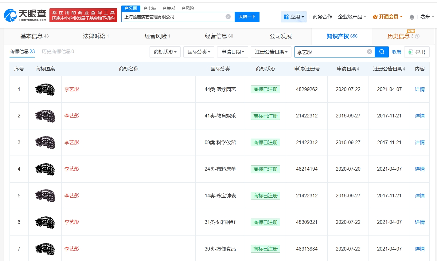
天眼查知识产权信息显示,上海丝芭演艺管理有限公司已注册多枚“李艺彤”商标,国际分类涉及医疗园艺、教育娱乐等,当前商标状态均为已注册。
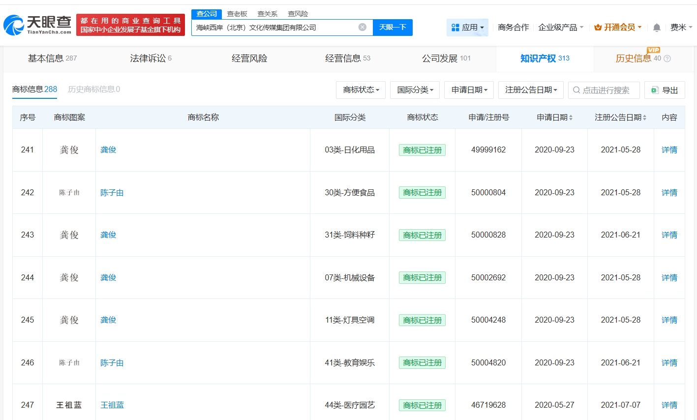
值得一提的是,李艺彤新签约公司海峡西岸(北京)文化传媒集团有限公司成立于2011年11月,法定代表人为方陈明,注册资本1000万人民币,经营范围包括广播电视节目制作、演出经纪、组织文化艺术交流活动等,由厦门锦松文化合伙企业(有限合伙)、珠海横琴蓝彧文化传媒有限公司、上海海俊星品牌管理合伙企业(有限合伙)等共同持股。知识产权信息显示,该公司已成功注册多枚“龚俊”“王祖蓝”等艺人姓名商标。



丝芭
1.TMT观察网遵循行业规范,任何转载的稿件都会明确标注作者和来源;
2.TMT观察网的原创文章,请转载时务必注明文章作者和"来源:TMT观察网",不尊重原创的行为TMT观察网或将追究责任;
3.作者投稿可能会经TMT观察网编辑修改或补充。
