王健林再被冻结3亿股权 王健林名下多家公司股权被冻结观点
观察君
2025-05-09 15:11
导读
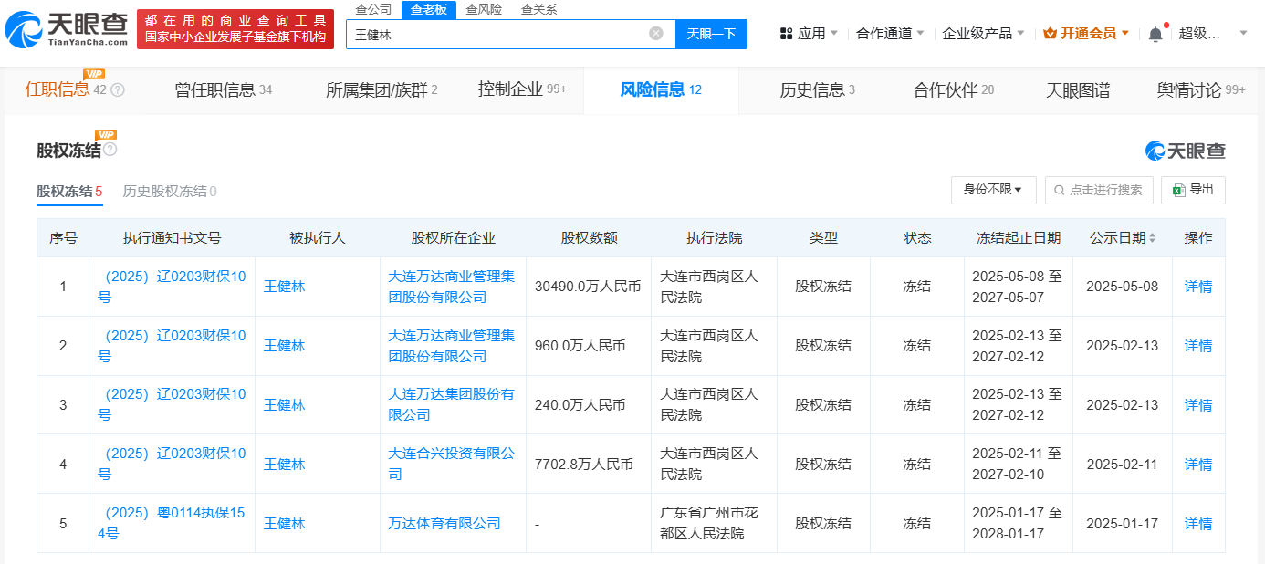
天眼查App显示,近日,王健林新增1条股权冻结信息,股权所在企业为大连万达商业管理集团股份有限公司,冻结股权数额约3亿人民币,冻结期限自2025年5月8日至2027年5月7日。
天眼查App显示,近日,王健林新增1条股权冻结信息,股权所在企业为大连万达商业管理集团股份有限公司,冻结股权数额约3亿人民币,冻结期限自2025年5月8日至2027年5月7日。
天眼风险信息显示,此前,王健林所持有的大连合兴投资有限公司7702.8万股权、大连万达集团股份有限公司240万股权等公司股权均已被冻结。



王健林
1.TMT观察网遵循行业规范,任何转载的稿件都会明确标注作者和来源;
2.TMT观察网的原创文章,请转载时务必注明文章作者和"来源:TMT观察网",不尊重原创的行为TMT观察网或将追究责任;
3.作者投稿可能会经TMT观察网编辑修改或补充。
