华为已注册MATE80相关商标 华为已注册MATE90和MATE100商标观点
观察君
2025-11-25 16:13
导读
11月25日,华为举办新品发布会,正式发布了Mate 80系列手机。
11月25日,华为举办新品发布会,正式发布了Mate 80系列手机。
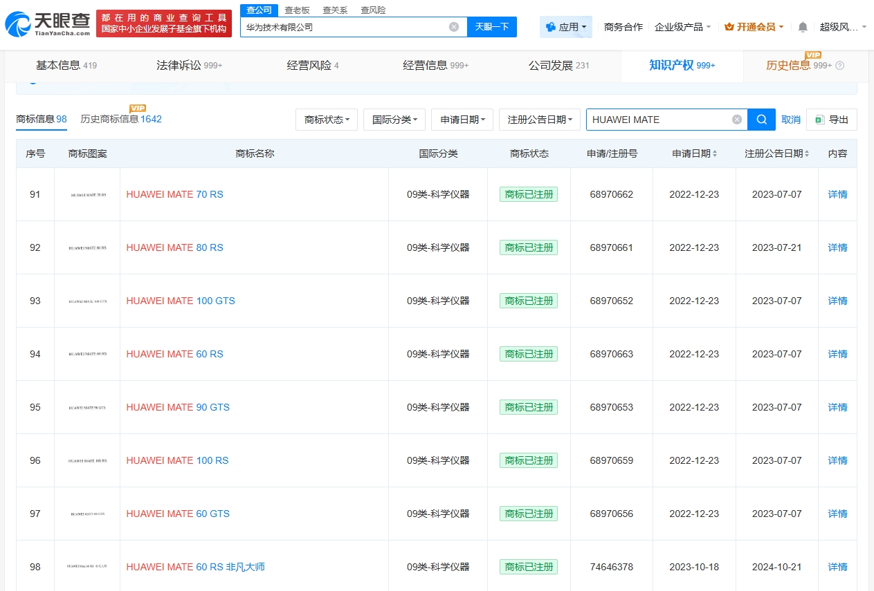
天眼查知识产权信息显示,华为技术有限公司曾于2022年12月申请注册“HUAWEI MATE 80 RS”“HUAWEI MATE 80 GTS”商标,国际分类为科学仪器,上述商标均已成功注册。
此外,华为技术有限公司还于同时期申请注册了“HUAWEI MATE 90 GTS”“HUAWEI MATE 90 RS”“HUAWEI MATE 100 GTS”“HUAWEI MATE 100 RS”商标,国际分类均为科学仪器,商标均为已注册。


华为
1.TMT观察网遵循行业规范,任何转载的稿件都会明确标注作者和来源;
2.TMT观察网的原创文章,请转载时务必注明文章作者和"来源:TMT观察网",不尊重原创的行为TMT观察网或将追究责任;
3.作者投稿可能会经TMT观察网编辑修改或补充。
